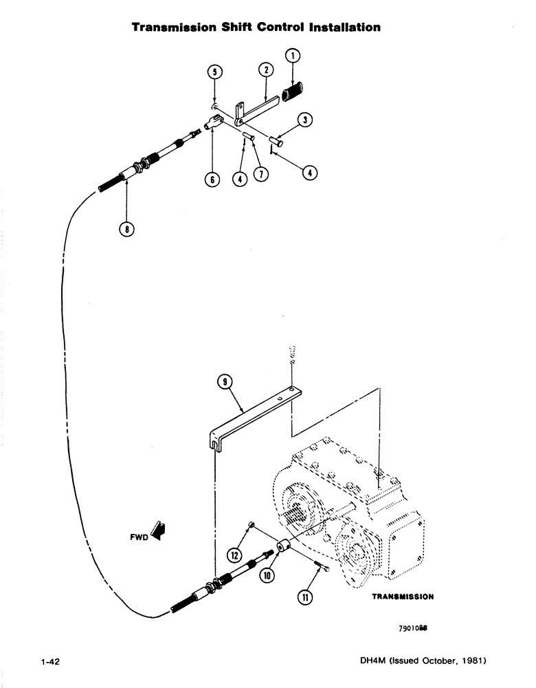
Запчасти Case DH4B (1-42) - TRANSMISSION SHIFT CONTROL INSTALLATION (21) - TRANSMISSION

Схема запчастей Case DH4B - (1-42) - TRANSMISSION SHIFT CONTROL INSTALLATION (21) - TRANSMISSION
FIT
1:1
100%

Артикул

Название

Примечание

Количество

1

H31773

HANDLE

GRIP - Handle

1шт.

2

H640573

LEVER

- Shifter

1шт.

3

141-11

CLEVIS PIN,3/8" x 1 1/4"

PIN - Clevis

1шт.

4

132-320

COTTER PIN,3/32" x 3/4"

PIN, SPLIT (COTTER), 3/32" x 3/4"

2шт.

5

195-525

WASHER,3/8", SAE

1шт.

6

213-2

ADJUSTABLE CLEVIS,1/4"-28 x 2"

CLEVIS - (1/4)

1шт.

7

D23693

AXLE PIN

PIN - Clevis

1шт.

8

H559708

CABLE

- Transmission

1шт.

9

H372771

BRACKET

- Cable

1шт.

10

H372789

ADAPTER

Includes: Refs. 11, 12

1шт.

11

113-17

BOLT,Hex, 1/4" - 20 x 1-1/4", Gr 5

1шт.

12

131-1180

LOCK NUT,1/4"-20, GA

NUT, LOCK, 1/4"-20, GA

1шт.

Выбрано товаров: 12