Запчасти Case DH4B (02) - CYLINDER HEAD (10) - ENGINE

Схема запчастей Case DH4B - (02) - CYLINDER HEAD (10) - ENGINE
FIT
1:1
100%

Артикул

Название

Примечание

Количество

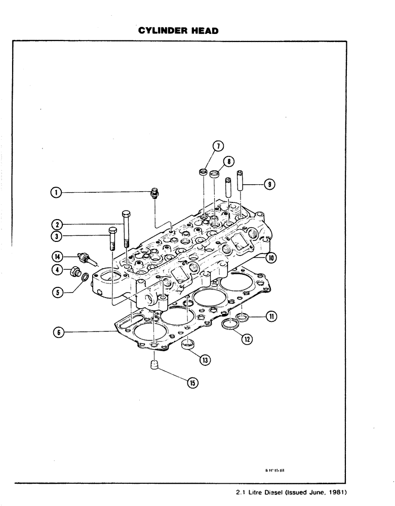
1

H410092

CONNECTOR, ELEC

CONNECTOR - (For Oil Supply Rockshaft)

1шт.

2

H410084

BOLT

- Cylinder Head

12шт.

3

H410076

BOLT

- Cylinder Head

5шт.

4

H411744

PLUG

- Screw

1шт.

5

H411033

GASKET

1шт.

6

H410068

GASKET

- Cylinder Head

1шт.

H659326

HEAD (CYLINDER)

CYLINDER HEAD ASSEMBLY, Includes: Ref. 7 - 15

1шт.

7

H411751

CAP

- Sealing

6шт.

8

H411769

CAP

- Sealing

10шт.

9

H410035

GUIDE

- Valve (For Service Only)

8шт.

10

NSS

NOT SOLD SEPARAT

HEAD - Cylinder

1шт.

11

H410043

INSERT

- Exhaust Valve Seat

4шт.

12

H410050

INSERT

- Inlet Valve Seat

4шт.

13

H411777

JET

- Combustion (Standard)

4шт.

13

H411785

JET

- Combustion (Oversize)

4шт.

14

H411793

UNIT

- Thermometer, used with N14090, 40 hp only

1шт.

40 hp only

1шт.

14

D70089

TRANSMITTER

UNIT - Thermometer, 50 hp only

1шт.

50 hp only

1шт.

15

H420158

INDICATOR

DIRECTOR (Removed in later Engines)

1шт.

Выбрано товаров: 20