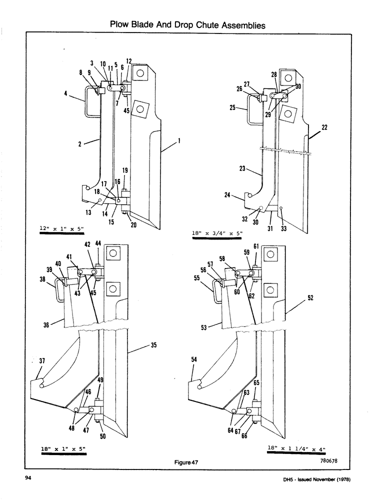
Запчасти Case DH5 (094) - PLOW BLADE AND DROP CHUTE ASSEMBLIES (89) - TOOLS

Схема запчастей Case DH5 - (094) - PLOW BLADE AND DROP CHUTE ASSEMBLIES (89) - TOOLS
FIT
1:1
100%

Артикул

Название

Примечание

Количество

1

H573204

BLADE

Asm - 12" x 1" x 5"

1шт.

2

H559344

CHUTE ASSY.

Drop Chute Asm - 1" x 12"

1шт.

3

H537209

CHUTE ASSY.

Drop Chute

1шт.

4

H537266

GUIDE

Drop Chute Gate

1шт.

5

NLS

NO LONGER SERVICED

Upper Link

2шт.

6

H133744

BLOCK

Upper Swivel Block

1шт.

7

H133793

RIVET

- Link To Block

1шт.

8

H532663

PIN

Gate Pin

1шт.

9

A70250

PIN

Hair Pin

1шт.

10

H127340

BOLT

HHCS (3/8" x 2 1/4" NF - Grade 8 - Special)

1шт.

11

131-177

LOCK NUT,3/8"-24, GA

Nut (3/8" NF - Lock)

3шт.

12

113-257

BOLT,Hex, 3/8" - 16 x 2-1/2", Gr 5

1шт.

13

H127357

BOLT

HHCS (3/8" x 1 5/16" NF - Grade 8 - Special)

1шт.

14

H228221

LINK

Lower Link

1шт.

15

H149302

BLOCK

Lower Swivel Block

1шт.

16

H150987

RIVET

- Link To Block

1шт.

17

195-450

WASHER,33/64" x 7/8" x .064", Brass

- Aircraft Reg. (1/2") - One Each Side Of Link

2шт.

18

195-451

WASHER,33/64" x 7/8" x .033"

- Aircraft Light (1/2") - One Each Side Of Link

2шт.

19

86505993

BOLT,Hex, 1/2" - 13 x 4", Gr 5

1шт.

20

131-165

NUT,1/2"-13, GA

Nut (1/2" NC - Lock)

1шт.

22

H574434

BLADE

Asm - 18" x 3/4"x5"

1шт.

23

H559328

ASSEMBLY

Drop Chute Asm - 3/4" x 18

1шт.

24

H537183

CHUTE ASSY.

Drop Chute

1шт.

25

H537241

TEE

Drop Chute Gate

1шт.

26

H532648

PIN

Gate Pin

1шт.

27

A70250

PIN

Hair Pin

1шт.

28

H116756

DRAG LINK

Upper Link

2шт.

29

H127340

BOLT

HHCS (3/8" x 2 1/4" NF - Grade 8 Special)

2шт.

30

131-1133

NUT,3/8"-24, GC

Nut (3/8" NF)

3шт.

31

H127258

DRAG LINK

Lower Link

1шт.

32

H127324

BOLT

HHCS (3/8" x 1 1/32" NF - Grade 8 Special)

1шт.

33

H127266

AXLE PIN

Rivet (3/8" x 7/8")

1шт.

35

H573196

BLADE

Asm - 18" x 1" x 5"

1шт.

36

H573352

CHUTE ASSY.

Drop Chute Asm - 1" x 18"

1шт.

37

H541219

CHUTE ASSY.

Drop Chute

1шт.

38

H541243

GUIDE

Drop Chute Gate

1шт.

39

H537787

AXLE PIN

Gate Pin

1шт.

40

A70250

PIN

Hair Pin

1шт.

41

H133157

DRAG LINK

Upper Link

2шт.

42

H133744

BLOCK

Link Block - Upper

1шт.

43

H133793

RIVET

- Upper Link

2шт.

44

113-257

BOLT,Hex, 3/8" - 16 x 2-1/2", Gr 5

1шт.

45

131-178

LOCK NUT,Prev Torque, Hex, 3/8" - 16, Gr A

Nut (3/8" NC - Lock)

1шт.

46

H133165

DRAG LINK

Lower Link

1шт.

47

H149302

BLOCK

Link Block - Lower

1шт.

48

H150987

RIVET

- Lower Link

2шт.

49

131-431

PUSH-ON NUT,Self, Threading, 1/4"

HHCS (1/2" x 4" NC)

1шт.

50

131-165

NUT,1/2"-13, GA

Nut (1/2" NC - Lock)

1шт.

52

H544999

BLADE

Asm - 18" x 1 1/4" x4

1шт.

53

H575357

CHUTE ASSY.

Drop Chute Asm - 1 1/4" x 18"

1шт.

54

H537993

CHUTE ASSY.

Drop Chute

1шт.

55

H538009

GUIDE

Drop Chute Gate

1шт.

56

H537787

AXLE PIN

Gate Pin

1шт.

57

A70250

PIN

Hair Pin

1шт.

58

H133157

DRAG LINK

Upper Link

3шт.

59

H133744

BLOCK

Upper Link Block

1шт.

60

H133793

RIVET

- Upper Link

2шт.

61

113-257

BOLT,Hex, 3/8" - 16 x 2-1/2", Gr 5

1шт.

62

131-178

LOCK NUT,Prev Torque, Hex, 3/8" - 16, Gr A

Nut (3/8" NC - Lock)

1шт.

63

H133165

DRAG LINK

Lower Link

1шт.

64

H133785

RIVET

- Lower Link

2шт.

65

131-431

PUSH-ON NUT,Self, Threading, 1/4"

HHCS (1/2" x 4" NC)

1шт.

66

131-1308

JAM NUT,Jam, 1/2"-13

Nut (1/2" NC - Lock)

1шт.

67

H133736

JOINT TURNING

Lower Link Block

1шт.

Выбрано товаров: 64