Запчасти Case DH5 (098) - PLOW BLADE AND DROP CHUTE ASSEMBLIES (89) - TOOLS

Схема запчастей Case DH5 - (098) - PLOW BLADE AND DROP CHUTE ASSEMBLIES (89) - TOOLS
FIT
1:1
100%

Артикул

Название

Примечание

Количество

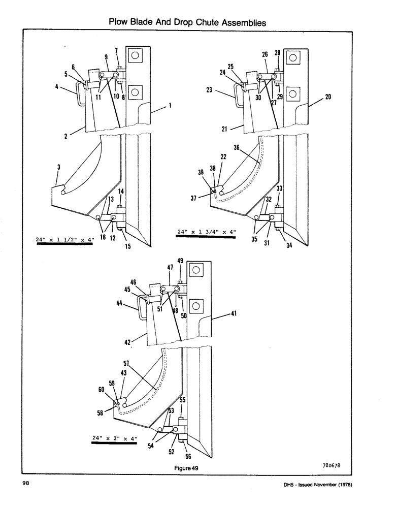
1

H577890

Blade Asm - 24" x 1 1/2" x 4"

1шт.

2

H575324

Drop Chute Asm - 1 1/2" x 24"

1шт.

3

H537969

CHUTE ASSY.

Drop Chute

1шт.

4

H537951

GUIDE

Drop Chute Gate

1шт.

5

H537787

AXLE PIN

Gate Pin

1шт.

6

A70250

PIN

Hair Pin

1шт.

7

113-257

BOLT,Hex, 3/8" - 16 x 2-1/2", Gr 5

HHCS (3/8" x 1 1/2" NC)

1шт.

8

131-178

LOCK NUT,Prev Torque, Hex, 3/8" - 16, Gr A

Nut (3/8" NC - Lock)

1шт.

9

H133157

DRAG LINK

Upper Link

2шт.

10

H133751

BLOCK

Upper Link Block

1шт.

11

H133801

RIVET

- Upper Link

2шт.

12

H133736

JOINT TURNING

Lower Link Block

1шт.

13

H133165

DRAG LINK

Lower Link

1шт.

14

86505993

BOLT,Hex, 1/2" - 13 x 4", Gr 5

1шт.

15

131-1308

JAM NUT,Jam, 1/2"-13

Nut (1/2" NC - Lock)

1шт.

16

H133785

RIVET

- Lower Link

2шт.

20

H577916

BLADE

Asm - 24" x 1 3/4" x 4"

1шт.

21

H575407

Drop Chute Asm - 1 3/4" x 24"

1шт.

22

H546598

CHUTE ASSY.

Drop Chute

1шт.

23

H546655

GUIDE

Drop Chute Gate

1шт.

24

H537787

AXLE PIN

Gate Pin

1шт.

25

A70250

PIN

Hair Pin

1шт.

26

H133157

DRAG LINK

Upper Link

2шт.

27

H133769

BLOCK

Upper Link Block

1шт.

28

113-257

BOLT,Hex, 3/8" - 16 x 2-1/2", Gr 5

1шт.

29

131-178

LOCK NUT,Prev Torque, Hex, 3/8" - 16, Gr A

Nut (3/8" NC - Lock)

1шт.

30

H133819

RIVET

- Upper Link

2шт.

31

H133736

JOINT TURNING

Lower Link Block

1шт.

32

H133165

DRAG LINK

Lower Link

1шт.

33

86505993

BOLT,Hex, 1/2" - 13 x 4", Gr 5

1шт.

34

131-1308

JAM NUT,Jam, 1/2"-13

Nut (1/2" NC Jam - Lock)

1шт.

35

H133785

RIVET

- Lower Link

2шт.

36

H152405

CABLE EXTENSION

Gate Extension

1шт.

37

164-152

HEX SOC SCREW,Flat Hd, 3/8" - 24 x 1"

FHCS (3/8" x 1" NF - Allen HD)

2шт.

38

129-123

NUT,3/8"-24, G5

2шт.

39

192-21

LOCK WASHER,3/8"

WASHER, LOCK, 3/8"

2шт.

41

H545061

BLADE

Asm - 24" x 2" x 4"

1шт.

42

H575415

CHUTE ASSY.

Drop Chute Asm - 24" x 2"

1шт.

43

H546580

CHUTE ASSY.

Drop Chute

1шт.

44

H546648

GUIDE

Drop Chute Gate

1шт.

45

H537787

AXLE PIN

Gate Pin

1шт.

46

A70250

PIN

Hair Pin

1шт.

47

H133157

DRAG LINK

Upper Link

2шт.

48

H142349

BLOCK

Upper Link Block

1шт.

49

113-257

BOLT,Hex, 3/8" - 16 x 2-1/2", Gr 5

1шт.

50

131-178

LOCK NUT,Prev Torque, Hex, 3/8" - 16, Gr A

Nut (3/8" NC - Lock)

1шт.

51

H142752

RIVET

- Upper Link

2шт.

52

H133736

JOINT TURNING

Lower Link Block

1шт.

53

H133165

DRAG LINK

Lower Link

1шт.

54

H133785

RIVET

- Lower Link

2шт.

55

86505993

BOLT,Hex, 1/2" - 13 x 4", Gr 5

1шт.

56

131-1308

JAM NUT,Jam, 1/2"-13

Nut (1/2" NC Jam - Lock)

1шт.

57

H152322

EXTENSION

Gate Extension

1шт.

58

164-152

HEX SOC SCREW,Flat Hd, 3/8" - 24 x 1"

FHCS (3/8" x 1" NF - Allen HD)

2шт.

59

129-123

NUT,3/8"-24, G5

2шт.

60

192-21

LOCK WASHER,3/8"

WASHER, LOCK, 3/8"

2шт.

Выбрано товаров: 56