Запчасти Case DH5 (102) - PLOW BLADE AND DROP CHUTE ASSEMBLIES (89) - TOOLS

Схема запчастей Case DH5 - (102) - PLOW BLADE AND DROP CHUTE ASSEMBLIES (89) - TOOLS
FIT
1:1
100%

Артикул

Название

Примечание

Количество

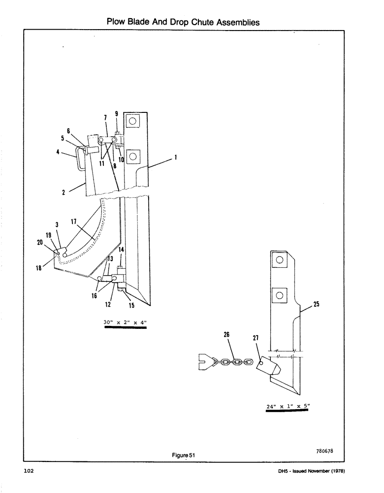
1

H545079

BLADE

Asm - 30" x 2" x 4"

1шт.

2

H575423

CHUTE ASSY.

Drop Chute Asm - 30" x 2"

1шт.

3

H546556

CHUTE ASSY.

Drop Chute

1шт.

4

H546549

GUIDE

Drop Chute Gate

1шт.

5

H537787

AXLE PIN

Gate Pin

1шт.

6

A70250

PIN

Hair Pin

1шт.

7

H133157

DRAG LINK

Upper Link

1шт.

8

H142349

BLOCK

Upper Link Block

1шт.

9

113-257

BOLT,Hex, 3/8" - 16 x 2-1/2", Gr 5

1шт.

10

131-178

LOCK NUT,Prev Torque, Hex, 3/8" - 16, Gr A

Nut (3/8" NC)

1шт.

11

H142752

RIVET

- Upper Link

2шт.

12

H133736

JOINT TURNING

Lower Link Block

1шт.

13

H133165

DRAG LINK

Lower Link

1шт.

14

86505993

BOLT,Hex, 1/2" - 13 x 4", Gr 5

1шт.

15

131-1308

JAM NUT,Jam, 1/2"-13

Nut (1/2" NC Jam - Lock)

1шт.

16

H133785

RIVET

- Lower Link

2шт.

17

H152322

EXTENSION

Gate Extension

1шт.

18

164-152

HEX SOC SCREW,Flat Hd, 3/8" - 24 x 1"

FHCS (3/8" x 1" NF - Allen HD)

2шт.

19

129-123

NUT,3/8"-24, G5

2шт.

20

192-21

LOCK WASHER,3/8"

WASHER, LOCK, 3/8"

2шт.

25

H577932

BLADE

Bullet Nose Blade Asm - 24" x 1" x 5"

1шт.

26

H578252

ADAPTER

Chinese Finger Ball Adapter Asm

1шт.

27

H237347

RIVET

- Adapter To Blade

1шт.

Выбрано товаров: 23