Запчасти Case DH5 (104) - QUAD PLOW INSTALLATION (89) - TOOLS

Схема запчастей Case DH5 - (104) - QUAD PLOW INSTALLATION (89) - TOOLS
FIT
1:1
100%

Артикул

Название

Примечание

Количество

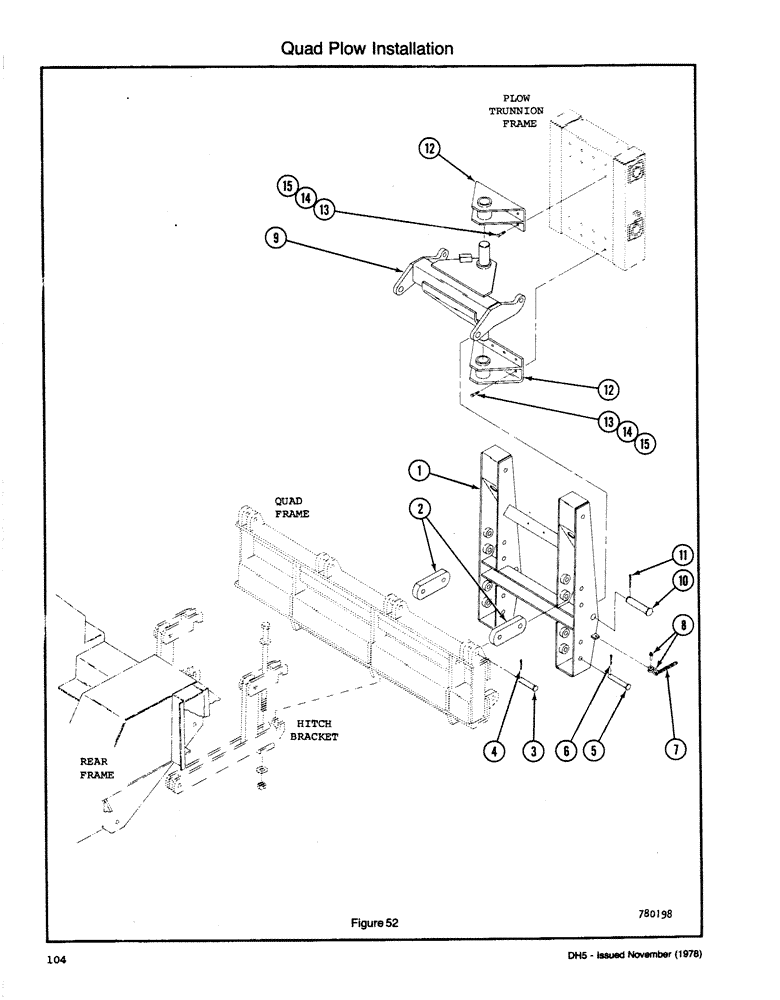
1

H635045

FRAME ASSEMBLY - Plow Mounting

1шт.

2

H346098

LINK

2шт.

3

H70623

AXLE PIN

PIN - Clevis (1 x 3 1/2)

2шт.

4

132-349

COTTER PIN,1/4" x 1 1/2"

PIN, Split (Cotter), 1/4" x 1-1/2"

2шт.

5

H56606J

PIN - Clevis (1 x 5 1/4)

4шт.

6

132-349

COTTER PIN,1/4" x 1 1/2"

PIN, Split (Cotter), 1/4" x 1-1/2"

4шт.

7

H292706

CHAIN (AG)

CHAIN - Centering

2шт.

8

H63156

DRAG LINK

SHACKLE

4шт.

9

H604173

TRUNNION

FRAME ASSEMBLY - Trunnion

1шт.

10

H210666

PIN - Clevis (1 1/2 x 5 1/4)

2шт.

11

132-313

COTTER PIN,1/4" x 2"

PIN, Split (Cotter), 1/4" x 2"

2шт.

12

H604306

PIVOT

ASSEMBLY - Plow

2шт.

13

113-410

BOLT,Hex, 1/2" - 13 x 1-1/2", Gr 5, Full Thd

16шт.

14

195-533

WASHER,1/2", SAE

- Flat (1/2)

16шт.

15

131-1182

LOCK NUT,1/2"-13, GA

NUT NC HH C/L (1/2)

16шт.

Выбрано товаров: 15