Запчасти Case DH5 (204) - HYDRA-BORER INSTALLATION (89) - TOOLS

Схема запчастей Case DH5 - (204) - HYDRA-BORER INSTALLATION (89) - TOOLS
FIT
1:1
100%

Артикул

Название

Примечание

Количество

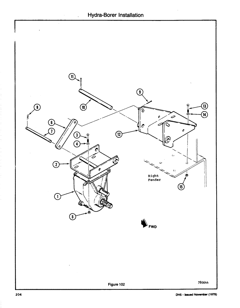
1

GEARBOX ASSEMBLY - Reduction (See Figure 116)

1шт.

2

H553388

CHANNEL

1шт.

3

113-421

BOLT,Hex, 1/2" - 13 x 2", Gr 5

4шт.

4

195-533

WASHER,1/2", SAE

- Flat (1/2)

4шт.

5

131-1182

LOCK NUT,1/2"-13, GA

NUT - NC Hex C/L (1/2)

4шт.

6

H175430

LINK

2шт.

7

H175414

PIN

1шт.

8

A70250

PIN

- Hair

2шт.

9

132-310

COTTER PIN,1/8" x 1"

PIN, SPLIT (COTTER), 1/8" x 1"

2шт.

10

H175448

SHAFT

- Pivot

1шт.

11

132-307

COTTER PIN,1/4" x 1 3/4"

PIN, Split (Cotter), 1/4" x 1 3/4"

2шт.

12

H553370

BRACKET

- Mounting

1шт.

13

113-421

BOLT,Hex, 1/2" - 13 x 2", Gr 5

4шт.

14

195-533

WASHER,1/2", SAE

- Flat (1/2)

4шт.

15

131-1182

LOCK NUT,1/2"-13, GA

NUT - NC Hex C/L (1/2)

4шт.

Выбрано товаров: 0