Запчасти Case DH5 (020) - FUEL SYSTEM - DIESEL ENGINE (10) - ENGINE

Схема запчастей Case DH5 - (020) - FUEL SYSTEM - DIESEL ENGINE (10) - ENGINE
FIT
1:1
100%

Артикул

Название

Примечание

Количество

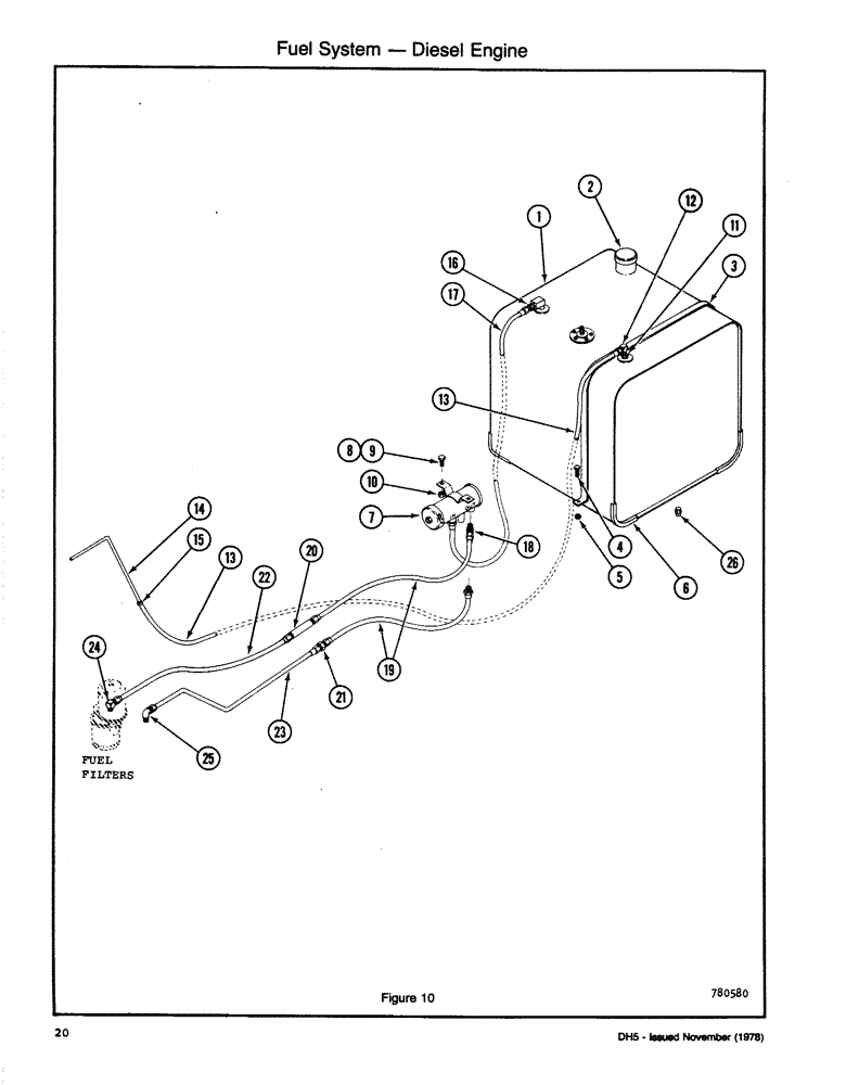
1

H624676

FUEL TANK

TANK ASSY - Fuel

1шт.

For fuel sender, see Electrical System Figure 19.

1шт.

2

H151274

CYLINDER END CAP

CAP - Fuel

1шт.

3

H337063

STRAP - Fuel Tank

2шт.

4

113-103

BOLT,Hex, 5/16" - 18 x 1", Gr 5

4шт.

5

131-176

LOCK NUT,Prev Torque, Hex, 5/16" - 18, Gr A

NUT NC HH C/L (5/16)

4шт.

6

D33500

LINING

TRIM - Fuel Tank

4шт.

7

T41054

PUMP

- Fuel

1шт.

8

113-3

BOLT,Hex, 1/4" - 20 x 3/4", Gr 5

2шт.

9

195-518

WASHER,1/4", SAE

- Flat (1/4)

2шт.

10

131-1180

LOCK NUT,1/4"-20, GA

NUT, LOCK, 1/4"-20, GA

2шт.

11

221-86

REDUCER,Hex, 3/8" x 1/4" NPT

BUSHING - Pipe (3/4 x 1/4)

1шт.

12

222-763

ELBOW,90 Degree, 7/16"-20, 45 Degree Fl x 1/4" NPT

- 90 degree (1/4 MP & 7/16)

1шт.

13

H270322

HOSE ASSY.

HOSE ASSY - Fuel Bleed

1шт.

14

H243493

TUBE,0.25" OD x 21" L

- Fuel Bleed

1шт.

15

214-274

HOSE CLAMP,#04, 0.25" - 0.62", Type F Worm

1шт.

16

222-803

HYD CONNECTOR,7/16"-20, 45º Fl x 1/4" NPT

CONNECTOR (1/4 MP & 7/16)

1шт.

17

H236455

LINE

HOSE - Fuel

1шт.

18

222-762

ELBOW,90 Degree, 7/16"-20, 45 Degree Fl x 1/8" NPT

1шт.

Machines that have a hose from filter to coupling.

1шт.

19

H224758

FUEL TUBE

HOSE - Fuel

1шт.

20

221-335

COUPLING,Pipe, 1/8" NPT

- Pipe (1/8)

1шт.

Machines that have a hose from filter to coupling.

1шт.

21

222-1915

FITTING

COUPLING - Union

1шт.

Machines that have a copper tube from filter to coupling.

1шт.

22

H50302

LINE

HOSE - Fuel

1шт.

Machines that have a hose from filter to coupling.

1шт.

23

H628180

FUEL TUBE,36" L

TUBE ASSY - Fuel

1шт.

Machines that have a copper tube from filter to coupling.

1шт.

24

222-763

ELBOW,90 Degree, 7/16"-20, 45 Degree Fl x 1/4" NPT

90 degree (1/4 MP & 7/16)

1шт.

Machines that have a hose from filter to coupling.

1шт.

25

222-45

ELBOW,90 Degree, 9/16"-24 Fem x 1/4"-27 NPTF

90 degree (1/4 MP & 7/16)(comes with engine)

1шт.

Machines that have a copper tube from filter to coupling.

1шт.

26

221-843

PLUG,Hex Soc, 3/8"-18

- Pipe (3/8)

1шт.

H119628

MOUNTING CLIP

STRAP - Plastic Banding (not shown)

3шт.

Выбрано товаров: 35