Запчасти Case DH5 (036) - HYDRAULIC OIL RESERVOIR, FILTERS (35) - HYDRAULIC SYSTEMS

Схема запчастей Case DH5 - (036) - HYDRAULIC OIL RESERVOIR, FILTERS (35) - HYDRAULIC SYSTEMS
FIT
1:1
100%

Артикул

Название

Примечание

Количество

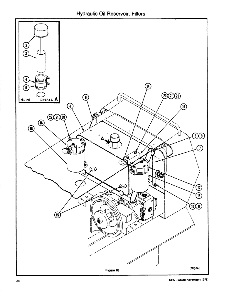
1

H624775

TANK, HYDRAULIC OIL

TANK ASSY - Hydraulic Oil Reservoir

1шт.

2

H291039

DIPSTICK

CAP ASSY - Dipstick/Filler

1шт.

3

H130468

TUBE,1.5" OD x 4" L

- Filler Extension

1шт.

4

H348250

HOSE,2.00", SAE 100R3

Connector 2.00", SAE 100R3

1шт.

5

214-258

HOSE CLAMP,#28, 1.31" - 2.25", Type F Worm

2шт.

6

H625558

STRAP

ASSY - Tank

1шт.

7

H337055

STRAP

1шт.

8

113-206

BOLT,Hex, 3/8" - 16 x 3/4", Gr 5, Full Thd

2шт.

9

230-4216

LOCK NUT,3/8"-16, GA

NUT NC HH C/L (3/8)

2шт.

10

113-122

BOLT,Hex, 5/16" - 18 x 1-1/2", Gr 5

2шт.

11

131-176

LOCK NUT,Prev Torque, Hex, 5/16" - 18, Gr A

NUT NC HH C/L (5/16)

2шт.

12

647685

DOR-TITE (3/16 x 3/4 x 23)(not shown)

1шт.

13

647685

DOR-TITE (3/16 x 3/4 x 40)(not shown)

1шт.

14

221-38

PLUG,Sq Soc, 1 1/2"-11 1/2, NTPF

- Pipe (1 1/2)

1шт.

15

221-847

PLUG,Hex Soc, 1 1/4"-11 1/2

- Pipe (1 1/4)

2шт.

16

H624817

FILTER CARTRIDGE

FILTER ASSY - Return

1шт.

17

H624809

FILTER CARTRIDGE

FILTER ASSY - Suction

1шт.

18

H341974

FILTER, ENGINE OIL

CANISTER - Filter

1шт.

19

H335448

BRACKET

- Filter Mount

1шт.

20

113-206

BOLT,Hex, 3/8" - 16 x 3/4", Gr 5, Full Thd

7шт.

21

195-525

WASHER,3/8", SAE

7шт.

22

230-4216

LOCK NUT,3/8"-16, GA

NUT NC HH C/L (3/8)

2шт.

Выбрано товаров: 22