Запчасти Case DH5 (206) - HYDRA-BORER CONTROL VALVE INSTALLATION (35) - HYDRAULIC SYSTEMS

Схема запчастей Case DH5 - (206) - HYDRA-BORER CONTROL VALVE INSTALLATION (35) - HYDRAULIC SYSTEMS
FIT
1:1
100%

Артикул

Название

Примечание

Количество

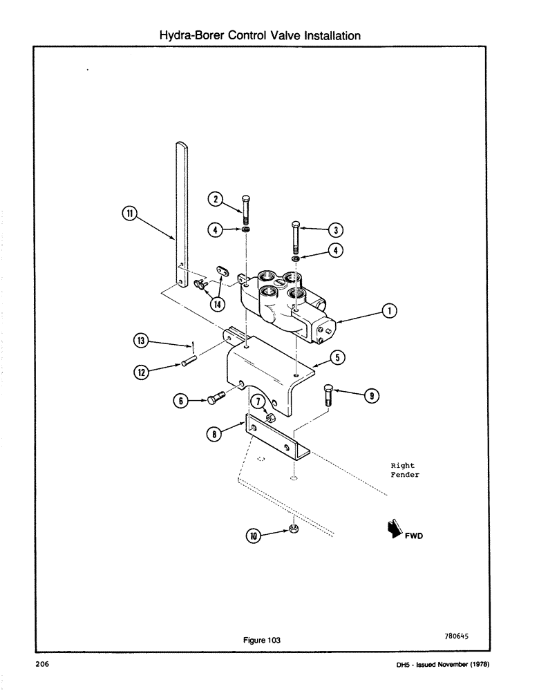
1

VALVE ASSEMBLY - Hydra-Bore Control (See Fig. 121)

1шт.

2

113-121

BOLT,Hex, 5/16" - 18 x 2", Gr 5

1шт.

3

113-110

BOLT,Hex, 5/16" - 18 x 2-1/4", Gr 5

Hex, 5/16"-18 x 2 1/4", G5

1шт.

4

192-20

LOCK WASHER,Helical Spring, 0.318" ID, CST, ZND

WASHER, LOCK, 5/16"

2шт.

5

H519132

BRACKET

- Valve Mounting

1шт.

6

113-206

BOLT,Hex, 3/8" - 16 x 3/4", Gr 5, Full Thd

2шт.

7

230-4216

LOCK NUT,3/8"-16, GA

NUT - NC Hex C/L (3/8)

2шт.

8

H349639

ANGLE - Valve Mounting

1шт.

9

113-208

BOLT,Hex, 3/8" - 16 x 1-1/4", Gr 5

2шт.

10

230-4216

LOCK NUT,3/8"-16, GA

NUT - NC Hex C/L (3/8)

2шт.

11

H71415

LEVER

- Control Valve

1шт.

12

H35279

AXLE PIN,4.72mm OD x 23.76mm L

PIN - Clevis (3/16 x 31/32)

1шт.

13

132-328

COTTER PIN,1/16" x 1/2"

PIN, SPLIT (COTTER), 1/16" x 1/2"

1шт.

14

B12505

LINK

- Connector

1шт.

Выбрано товаров: 14