Запчасти Case DH5 (056) - STEERING AND PROPULSION CONTROLS (41) - STEERING

Схема запчастей Case DH5 - (056) - STEERING AND PROPULSION CONTROLS (41) - STEERING
FIT
1:1
100%

Артикул

Название

Примечание

Количество

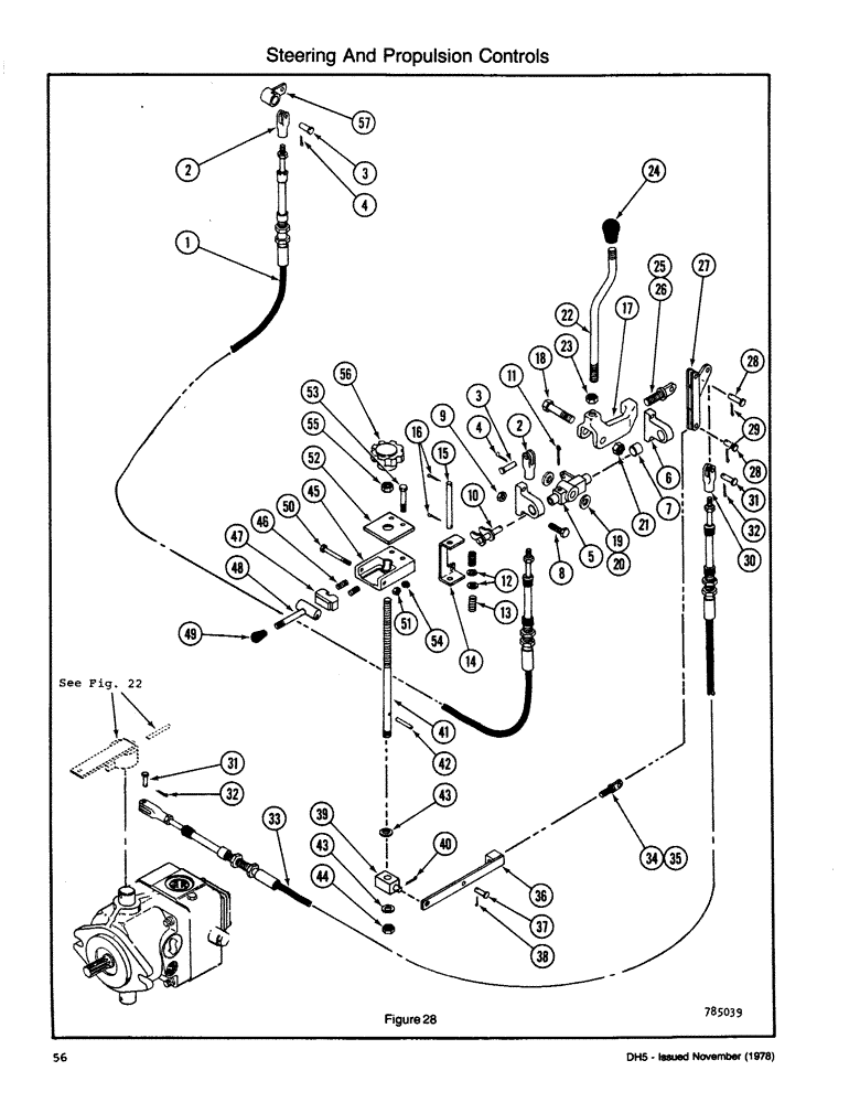
1

H588376

CABLE PULLING GRIP

CONTROL CABLE - Steering

1шт.

2

H44198

YOKE

END - Clevis

2шт.

3

H44206

CLEVIS COUPLING,7.94mm OD x 27.78mm L

PIN - Clevis (5/16 x 1)

2шт.

4

132-334

COTTER PIN,1/8" x 3/4"

PIN, SPLIT (COTTER), 1/8" x 3/4"

2шт.

5

H339077

SHAFT

- Control

1шт.

6

H558411

BEARING

BUSHING ASSY - Shaft Mounting

2шт.

7

H151894

BUSHING

1шт.

8

113-104

BOLT,Hex, 5/16" - 18 x 1-1/4", Gr 5

4шт.

9

131-176

LOCK NUT,Prev Torque, Hex, 5/16" - 18, Gr A

NUT NC HH C/L (5/16)

4шт.

10

H560482

LEVER

ASSY - Centering

1шт.

11

132-334

COTTER PIN,1/8" x 3/4"

PIN, SPLIT (COTTER), 1/8" x 3/4"

1шт.

12

195-521

WASHER,5/16", SAE

- Flat (5/16)

2шт.

13

H196717

VALVE SPRING

SPRING

2шт.

14

H196691

BRACKET

1шт.

15

H196709

GUIDE

1шт.

16

132-334

COTTER PIN,1/8" x 3/4"

PIN, SPLIT (COTTER), 1/8" x 3/4"

2шт.

17

H181982

CASTING

- Forward and Reverse

1шт.

18

80087972

BOLT,Hex, 1/2" - 13 x 2 1/2", Gr 5

NC HH (1/2 x 2 1/2)

1шт.

19

H182097

WASHER

- Friction (.125 T)

1шт.

20

H256305

WASHER

- Friction (.062 T)

1шт.

21

131-1182

LOCK NUT,1/2"-13, GA

NUT NC HH C/L (1/2)

1шт.

22

H293084

HANDLE

- Control

1шт.

23

129-145

JAM NUT,Jam, 1/2"-13, G5

1шт.

24

A14051

GRIP

KNOB

1шт.

Ref #24 - Replaced by H182113 06/21/96

1шт.

25

H217109

BOLT

BOLT - Eye

1шт.

26

131-1169

LOCK NUT,5/16"-24, GA

NUT, LOCK, 5/16"-24, GA

1шт.

27

H587352

CONTROL

ASSY

1шт.

28

H169318

CLEVIS COUPLING,6.35mm OD x 22.62mm L

PIN - Clevis (1/4 x 51/64)

2шт.

29

132-329

COTTER PIN,1/16" x 3/4"

1/16" x 3/4"

2шт.

30

H44198

YOKE

END - Clevis

2шт.

31

H44206

CLEVIS COUPLING,7.94mm OD x 27.78mm L

PIN - Clevis (5/16 x 1)

2шт.

32

132-334

COTTER PIN,1/8" x 3/4"

PIN, SPLIT (COTTER), 1/8" x 3/4"

2шт.

33

H337659

CABLE PULLING GRIP

CONTROL CABLE - Propulsion

1шт.

34

H217109

BOLT

BOLT - Eye

1шт.

35

131-1169

LOCK NUT,5/16"-24, GA

NUT, LOCK, 5/16"-24, GA

1шт.

36

H624841

LINK

ASSY

1шт.

37

H44289

CLEVIS COUPLING

PIN - Clevis (5/16 x 57/64)

1шт.

38

132-340

COTTER PIN,5/32" x 3/4"

5/32" x 3/4"

1шт.

39

H237701

BLOCK

- Control

1шт.

40

133-334

PIN - Cotter (1/8 x 3/4)

1шт.

41

H362558

SHAFT

- Control

1шт.

42

138-96

LOCK PIN,3/16" x 1", Slotted

PIN, 3/16" x 1", Slotted

1шт.

43

195-533

WASHER,1/2", SAE

- Flat (1/2)

2шт.

44

131-1182

LOCK NUT,1/2"-13, GA

NUT NC HH C/L (1/2)

1шт.

45

H608885

CONTROL BLOCK

BASE - Control

1шт.

46

H253864

VALVE SPRING

SPRING

2шт.

47

H608877

BLOCK

ASSY - Half

1шт.

48

H618504

CAM

ASSY

1шт.

49

A14051

GRIP

KNOB

1шт.

50

113-46

BOLT,Hex, 1/4" - 20 x 2-3/4", Gr 5

NC HH (1/4 x 2 3/4)

1шт.

51

131-1180

LOCK NUT,1/4"-20, GA

NUT, LOCK, 1/4"-20, GA

1шт.

52

H233767

COVER ASSY

PLATE - Cover

1шт.

53

113-120

BOLT,Hex, 5/16" - 18 x 1-3/4", Gr 5

2шт.

54

131-176

LOCK NUT,Prev Torque, Hex, 5/16" - 18, Gr A

NUT NC HH C/L (5/16)

2шт.

55

131-1182

LOCK NUT,1/2"-13, GA

NUT NC HH C/L (1/2)

1шт.

56

H239004

KNOB

1шт.

57

LEVER (See Figure 28)

1шт.

Выбрано товаров: 58