Запчасти Case DH5 (058) - STEERING CONTROL VALVE INSTALLATION (41) - STEERING

Схема запчастей Case DH5 - (058) - STEERING CONTROL VALVE INSTALLATION (41) - STEERING
FIT
1:1
100%

Артикул

Название

Примечание

Количество

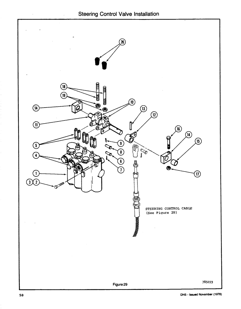
1

VALVE ASSY - Control (See Fig. 41)

1шт.

2

113-110

BOLT,Hex, 5/16" - 18 x 2-1/4", Gr 5

Hex, 5/16"-18 x 2 1/4", G5

2шт.

3

131-176

LOCK NUT,Prev Torque, Hex, 5/16" - 18, Gr A

NUT NC HH C/L (5/16)

2шт.

4

76349

PLUG,9/16" - 18 ORB

4шт.

5

H196857

LINK

6шт.

6

H35279

AXLE PIN,4.72mm OD x 23.76mm L

PIN - Clevis (3/16 x 57/64)

3шт.

7

132-328

COTTER PIN,1/16" x 1/2"

PIN, SPLIT (COTTER), 1/16" x 1/2"

3шт.

8

D23693

AXLE PIN

PIN - Clevis (1/4 x 1)

3шт.

9

132-320

COTTER PIN,3/32" x 3/4"

PIN, SPLIT (COTTER), 3/32" x 3/4"

3шт.

10

H275255

CRANK LEVER

LEVER

2шт.

11

H625574

SHAFT

ASSY

1шт.

12

H625236

LEVER

ASSY

1шт.

13

138-135

LOCK PIN,1/4" x 1 1/8", Slotted

PIN, LOCK, 1/4" x 1 1/8", Slotted

1шт.

14

H558403

BLOCK

ASSY

2шт.

15

H151894

BUSHING

1шт.

16

113-121

BOLT,Hex, 5/16" - 18 x 2", Gr 5

2шт.

17

131-176

LOCK NUT,Prev Torque, Hex, 5/16" - 18, Gr A

NUT NC HH C/L (5/16)

2шт.

18

H242701

HANDLE

LEVER

2шт.

19

87016560

JAM NUT,Jam, 3/8"-16, G5

2шт.

20

A14051

GRIP

KNOB

2шт.

Выбрано товаров: 20