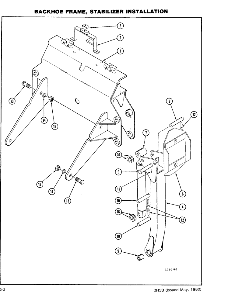
Запчасти Case DH5 (5-02) - BACKHOE FRAME, STABILIZER INSTALLATION (84) - BOOMS, DIPPERS & BUCKETS

Схема запчастей Case DH5 - (5-02) - BACKHOE FRAME, STABILIZER INSTALLATION (84) - BOOMS, DIPPERS & BUCKETS
FIT
1:1
100%

Артикул

Название

Примечание

Количество

1

NSS

NOT SOLD SEPARAT

FRAME - Backhoe Main (See Fig. 5-4)

1шт.

2

H646703

BRACKET

- Tube Mounting

1шт.

Front Mounted Backhoe Only

1шт.

3

H45468

CLAMP

- Tube

5шт.

Front Mounted Backhoe Only

1шт.

4

H642975

STABILIZER

ARM - Stabilizer

2шт.

5

H56192

BUSHING,28.91mm ID x 36.63mm OD x 44.45mm L

- Arm

2шт.

6

H533646

LARGE PLATE

PAD - Stabilizer

2шт.

6a

H371203

PAD

street (Steel)

1шт.

7

G100936

CYLINDER,Double Acting, 38.1mm Rod, 371.35mm Stroke

STABILIZER CYLINDER ASSEMBLY - (See Fig. 5-42)

2шт.

8

H109801

AXLE PIN

PIN -, Serial Range: Cylinder-Stabilizer

2шт.

9

H79285

PIN

-, Serial Range: Stabilizeer-Pad

2шт.

10

H382234

PIN

- Cylinder and Stabilizer Mounting

4шт.

11

B88476

PIN - Cotter (3/8 x 1 1/2)

2шт.

12

H313981

PIN

RETAINER - Pin

6шт.

13

113-924

BOLT,Hex, 1" - 8 x 2-1/2", Gr 5, Full Thd

4шт.

14

192-31

LOCK WASHER,1"

WASHER, LOCK, 1"

4шт.

15

131-1184

LOCK NUT,1"-8, GA

NUT - HC Hex (1)

4шт.

16

195-112

WASHER,1 1/4" x 2 3/4" x .164"

- Flat (1 1/8)

1шт.

Выбрано товаров: 19