Запчасти Case DH5 (2-14) - AUGER INSTALLATION (89) - TOOLS

Схема запчастей Case DH5 - (2-14) - AUGER INSTALLATION (89) - TOOLS
FIT
1:1
100%

Артикул

Название

Примечание

Количество

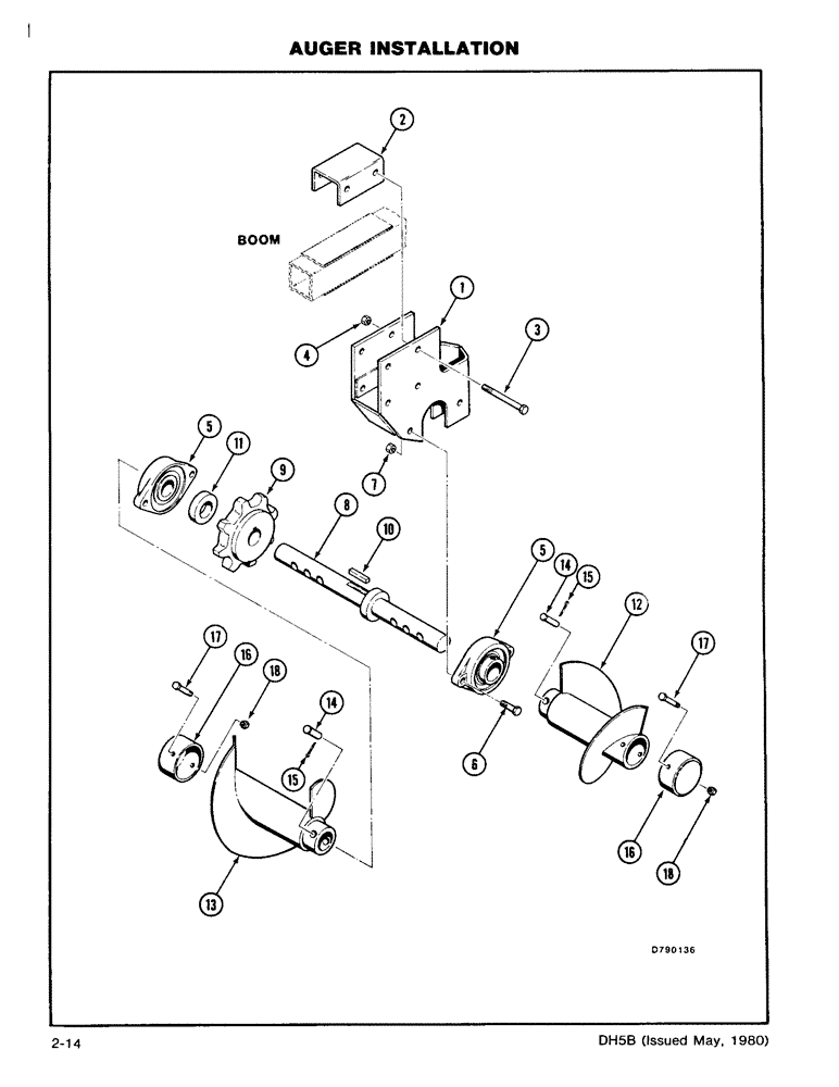
1

H641522

BRACKET

- Auger

1шт.

2

H375857

CHANNEL

- Auger Mounting, Includes: Ref. 3 and 4

1шт.

3

113-630

BOLT,Hex, 5/8" - 11 x 6", Gr 5

- NC HH (5/8 x 6)

4шт.

4

131-1130

LOCK NUT,5/8"-11, GA

NUT - NC Hex C/L (5/8)

4шт.

5

H652784

FLANGED BEARING

BEARING, Includes: Ref. 6 and 7

2шт.

6

113-621

BOLT,Hex, 5/8" - 11 x 2-3/4", Gr 5

4шт.

7

131-1130

LOCK NUT,5/8"-11, GA

NUT - NC Hex C/L (5/8)

4шт.

8

H647289

SHAFT

- Auger

1шт.

9

H375899

PINION

SPROCKET - Auger Drive

1шт.

Use With 50,000 lb. Chainline

1шт.

9

H375881

DRIVE SPROCKET

SPROCKET - Auger Drive

1шт.

Use With 70,000 lb. Chainline

1шт.

10

H274829

KEY

- Square (1/2 x 2 1/2)

1шт.

11

H375790

RING

- Stop

1шт.

12

H642454

AUGER

- Left Hand

1шт.

13

H642447

AUGER

- Right Hand, Includes: Ref. 14 and 15

1шт.

14

H99200

AXLE PIN

PIN - Clevis

2шт.

15

132-348

COTTER PIN,1/4" x 1 1/4"

Pin, Split (Cotter), 1/4" x 1 1/4"

2шт.

16

H570507

CYLINDER END CAP

CAP - Auger, Includes: Ref. 17 and 18

2шт.

17

113-647

BOLT,Hex, 5/8" - 11 x 5", Gr 5

- NC HH (5/8 x 5)

2шт.

18

131-1130

LOCK NUT,5/8"-11, GA

NUT - NC Hex C/L (5/8)

2шт.

H570432

AUGER

right hand, extension parts

1шт.

H570499

EXTENSION

AUGER left hand, extension parts

1шт.

192-25

LOCK WASHER,5/8"

WASHER, LOCK, 5/8"

1шт.

280374

NUT,Hex, 5/8" - 11, Gr 5

1шт.

113-647

BOLT,Hex, 5/8" - 11 x 5", Gr 5

S 5/8" x 5"

1шт.

Выбрано товаров: 26