Запчасти Case DH5 (1-02) - FRONT FRAME, HOOD, GRILL (39) - FRAMES AND BALLASTING

Схема запчастей Case DH5 - (1-02) - FRONT FRAME, HOOD, GRILL (39) - FRAMES AND BALLASTING
FIT
1:1
100%

Артикул

Название

Примечание

Количество

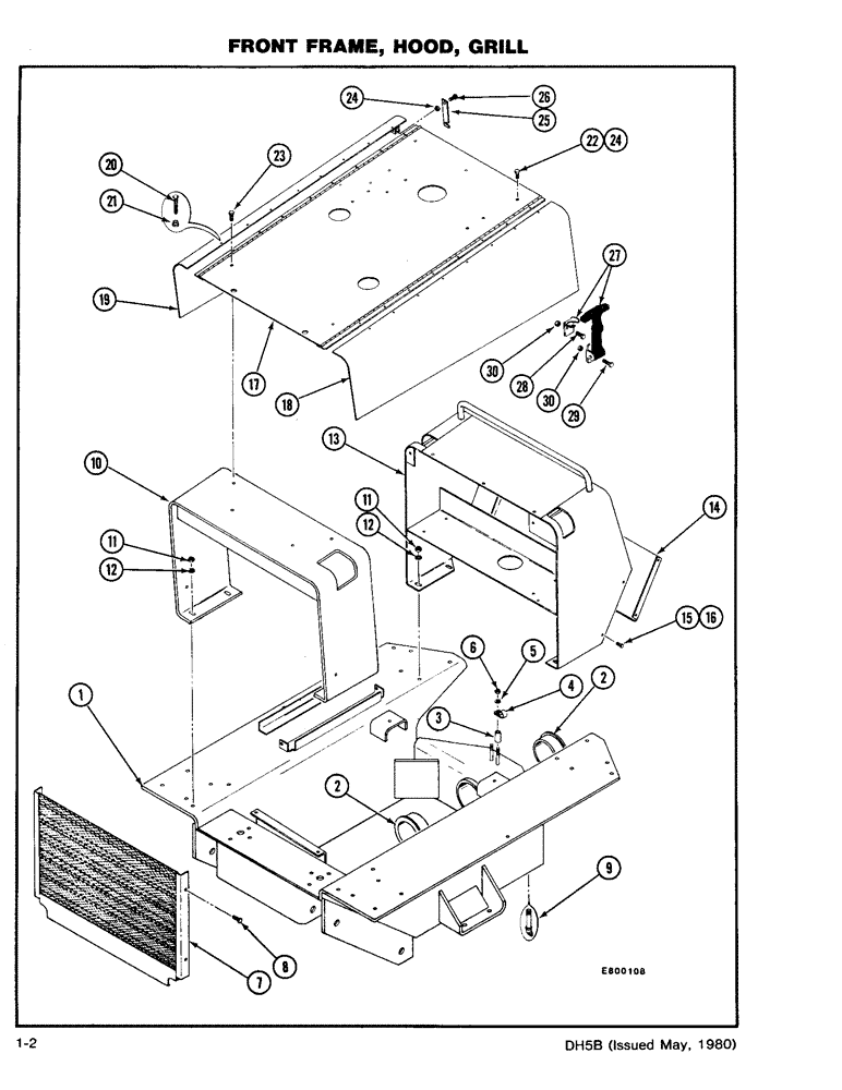
1

H649004

FRONT FRAME ASSEMBLY, Includes: Ref. 2

1шт.

2

H276899

BUSHING

2шт.

3

H396523

SPACER

TUBE - Spacer

2шт.

4

515-23190

CLAMP,3/4", Insul, 3/8" Bolt

- Hydraulic Tube

2шт.

5

92-6

LOCK WASHER,3/8"

2шт.

6

87016560

JAM NUT,Jam, 3/8"-16, G5

2шт.

7

H624593

GRILLE ASSY

GRILL

1шт.

8

113-207

BOLT,Hex, 3/8" - 16 x 1", Gr 5

4шт.

9

219-42

LUBE NIPPLE,65 Degree Elbow, 1/8" - 27 NPTF

FITTING - Grease (Pivot Tube)

1шт.

10

H634865

WRAP - Front

1шт.

11

131-1182

LOCK NUT,1/2"-13, GA

NUT - NC Hex C/L (1/2)

8шт.

12

195-533

WASHER,1/2", SAE

- Flat (1/2)

8шт.

13

H624569

WRAP - Rear

1шт.

14

H339044

PLATE

- Pump Cover

1шт.

15

113-102

BOLT,Hex, 5/16" - 18 x 3/4", Gr 5

Hex, 5/16"-18 x 3/4", G5, Full Thd

4шт.

16

131-176

LOCK NUT,Prev Torque, Hex, 5/16" - 18, Gr A

NUT - NC Hex C/L (5/16)

4шт.

17

H624577

HOOD ASSY.

HOOD - Center Section

1шт.

18

H624619

HOOD

- Left

1шт.

19

H624601

HOOD

- Right

1шт.

20

H352674

BOLT

- Special

16шт.

21

H352682

COLLAR

16шт.

22

113-206

BOLT,Hex, 3/8" - 16 x 3/4", Gr 5, Full Thd

2шт.

23

113-207

BOLT,Hex, 3/8" - 16 x 1", Gr 5

3шт.

24

230-4216

LOCK NUT,3/8"-16, GA

NUT - NC Hex C/L (3/8)

4шт.

25

H332585

SUPPORT

HOLD-UP - Hood

2шт.

26

113-208

BOLT,Hex, 3/8" - 16 x 1-1/4", Gr 5

2шт.

27

H628263

LATCH ASSY.

LATCH - Hood

4шт.

28

163-32

SCREW,Hex, #10 - 24 x 1/2"

BOLT - NC HH (#10 x 1/2)

8шт.

29

113-1003

SCREW,Hex, #10 - 24 x 3/4", Gr 5

8шт.

30

131-1142

LOCK NUT,Hex, #10 - 24, Gr A

NUT, LOCK, #10-24, GA

8шт.

Выбрано товаров: 30