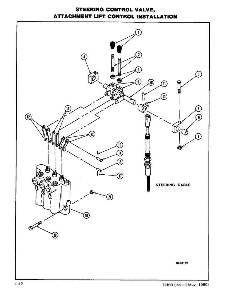
Запчасти Case DH5 (1-42) - STEERING CONTROL VALVE, ATTACHMENT LIFT CONTROL INSTALLATION (41) - STEERING

Схема запчастей Case DH5 - (1-42) - STEERING CONTROL VALVE, ATTACHMENT LIFT CONTROL INSTALLATION (41) - STEERING
FIT
1:1
100%

Артикул

Название

Примечание

Количество

1

A14051

GRIP

KNOB

2шт.

2

H242701

HANDLE

LEVER

2шт.

3

87016560

JAM NUT,Jam, 3/8"-16, G5

2шт.

4

H558403

BLOCK

BUSHING BLOCK ASSEMBLY, Includes: Ref. 5 and 6

2шт.

5

NSS

NOT SOLD SEPARAT

BLOCK

1шт.

6

H151894

BUSHING

1шт.

7

113-121

BOLT,Hex, 5/16" - 18 x 2", Gr 5

2шт.

8

131-176

LOCK NUT,Prev Torque, Hex, 5/16" - 18, Gr A

NUT - NC Hex C/L (5/16)

4шт.

9

H275255

CRANK LEVER

LEVER

2шт.

10

H625236

LEVER

1шт.

11

138-135

LOCK PIN,1/4" x 1 1/8", Slotted

PIN, LOCK, 1/4" x 1 1/8", Slotted

1шт.

12

H390203

LINK

- Offset

4шт.

13

H196857

LINK

- Straight

2шт.

14

D23693

AXLE PIN

PIN - Clevis (1/4 x 1)

3шт.

15

H35279

AXLE PIN,4.72mm OD x 23.76mm L

PIN - Clevis (3/16 x 57/64)

3шт.

16

132-320

COTTER PIN,3/32" x 3/4"

PIN, SPLIT (COTTER), 3/32" x 3/4"

3шт.

17

132-328

COTTER PIN,1/16" x 1/2"

PIN, SPLIT (COTTER), 1/16" x 1/2"

3шт.

18

H630244

VALVE

STEERING CONTROL VALVE ASSEMBLY - 2 Spool (See Fig. 1-87A)

1шт.

18

H641050

LOCK VALVE

STEERING CONTROL VALVE ASSEMBLY - 3 Spool (See Fig. 1-86)

1шт.

19

113-110

BOLT,Hex, 5/16" - 18 x 2-1/4", Gr 5

Hex, 5/16"-18 x 2 1/4", G5

2шт.

20

H625574

SHAFT

1шт.

21

131-176

LOCK NUT,Prev Torque, Hex, 5/16" - 18, Gr A

NUT - NC Hex Jam (5/16)

1шт.

Выбрано товаров: 0