Запчасти Case DH5 (20) - PISTONS (10) - ENGINE

Схема запчастей Case DH5 - (20) - PISTONS (10) - ENGINE
FIT
1:1
100%

Артикул

Название

Примечание

Количество

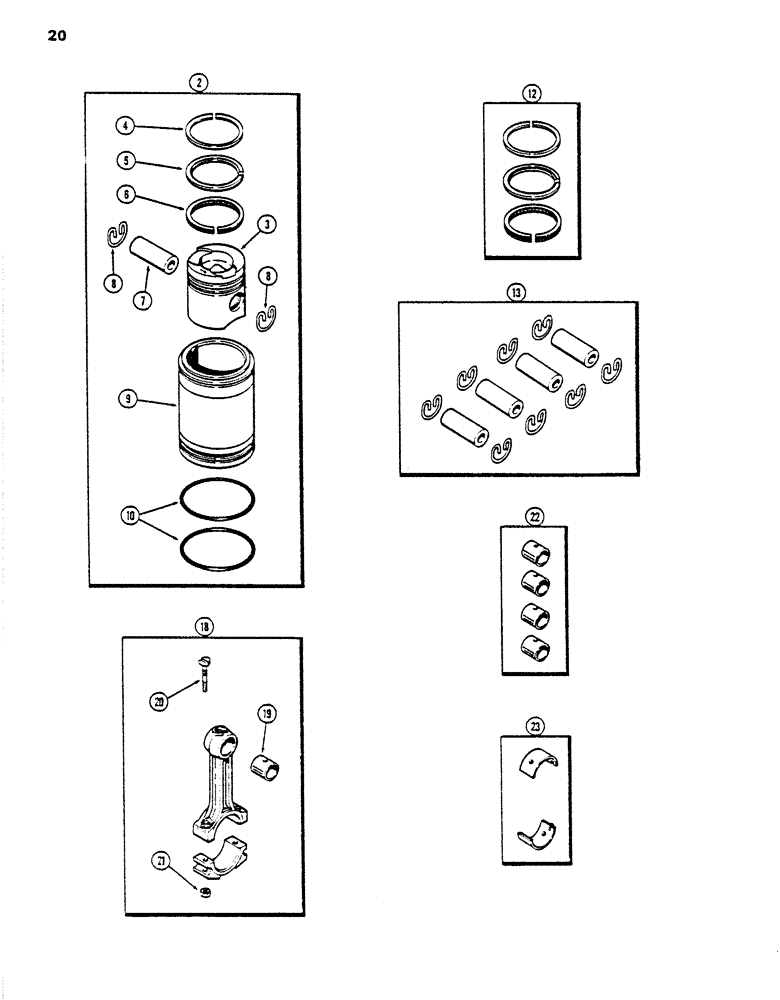
A46014

KIT

PISTON ASSY. - (Set of 4)

1шт.

2

A46013

SLEEVE

PISTON ASSY. - (Set of 1)

4шт.

3

A51911

PISTON

1шт.

4

NSS

NOT SOLD SEPARAT

RING - compression, 1st groove (Order Ref. 12)

1шт.

5

NSS

NOT SOLD SEPARAT

RING - compression, 2nd groove (Order Ref. 12)

1шт.

6

NSS

NOT SOLD SEPARAT

RING - oil control, 3rd groove (Order Ref. 12)

1шт.

7

NSS

NOT SOLD SEPARAT

PIN - piston (Order Ref. 13)

1шт.

8

G46702

RING, LOCKING

RING - piston pin retaining

2шт.

9

A136474

SLEEVE CYLINDER

SLEEVE - piston (Cyl. liner)

1шт.

10

A51916

O-RING,4.115" ID x 4.281" OD

"O" RING - sleeve

2шт.

A46016

RING

SET - piston re-ring (Set of 4)

1шт.

12

A46015

RING

SET - piston re-ring (Set of 1)

4шт.

13

A35771

KIT

PIN SET - piston (Set of 4 pins & 8 rings)

1шт.

18

A51913

RING

ROD ASSY. - connecting

4шт.

19

NSS

NOT SOLD SEPARAT

BUSHING - piston pin (Order Ref. 22), connecting rods

1шт.

20

A51914

BOLT

- conn. rod cap

2шт.

21

A51904

NUT

NUT - conn. rod bolt

2шт.

22

A44083

KIT

BUSHING SET - piston pin (Set of 4), connecting rods

1шт.

23

A50975

BEARING LINER,58.67mm ID x 62.48mm OD x 27.69mm W

LINER KIT - conn. rod brg. (std)(Set of 2)

4шт.

23

A50976

BEARING

LINER KIT - conn. rod brg. (-.002")(Set of 2)

4шт.

23

A50977

BEARING,58.42mm ID x 62.48mm OD x 27.69mm W

LINER KIT - conn. rod brg. (-.010")(Set of 2)

4шт.

23

A50978

BEARING,58.17mm ID x 62.48mm OD x 27.69mm W

LINER KIT - conn. rod brg. (-.020")(Set of 2)

4шт.

23

A50979

BEARING

LINER KIT - conn. rod brg. (-.030")(Set of 2)

4шт.

dlr looking for shims for sleeve protrusion---part number 395949r1, note to "turn to suit". jcl.3.97

1шт.

Выбрано товаров: 24