Запчасти Case DH5 (14) - SELECTOR VALVE INSTALLATION (35) - HYDRAULIC SYSTEMS

Схема запчастей Case DH5 - (14) - SELECTOR VALVE INSTALLATION (35) - HYDRAULIC SYSTEMS
FIT
1:1
100%

Артикул

Название

Примечание

Количество

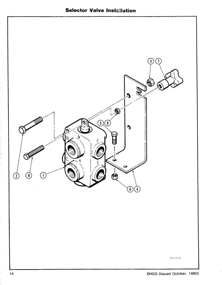
1

H632703

VALVE

SELECTOR VALVE ASSEMBLY - (See figure 28), Includes: Ref. 2 and 3

1шт.

2

113-241

BOLT,Hex, 3/8" - 16 x 3", Gr 5

2шт.

3

230-4216

LOCK NUT,3/8"-16, GA

NUT - NC Hex C/L (3/8)

2шт.

4

H355917

BRACKET - Selector Valve Mounting, Includes: Ref. 5 and 6

1шт.

5

113-103

BOLT,Hex, 5/16" - 18 x 1", Gr 5

2шт.

6

131-176

LOCK NUT,Prev Torque, Hex, 5/16" - 18, Gr A

NUT - NC Hex C/L (5/16)

2шт.

7

H355966

KNOB

- Lock, Includes: Ref. 8 and 9

1шт.

8

H355982

BOLT

- Special

1шт.

9

425-145

JAM NUT,Jam, 5/16"-18, G5

1шт.

Выбрано товаров: 9