Запчасти Case DH7 (1-28) - ELECTRICAL SYSTEM (55) - ELECTRICAL SYSTEMS

Схема запчастей Case DH7 - (1-28) - ELECTRICAL SYSTEM (55) - ELECTRICAL SYSTEMS
FIT
1:1
100%

Артикул

Название

Примечание

Количество

H653501

HARNESS - Wiring - Main 1188367 to

1шт.

Units with serial 1188367 and up and Sundstrand 18 series plow pump, 1 required.

1шт.

H642777

HARNESS

- Wiring - Main, Serial Range: 1164542-1188367

1шт.

Order H642801 for Schematic Wiring Diagram

1шт.

Units with serial 1164542 up to 1188367, 2 required.

1шт.

H642785

HARNESS

- Wiring - Rear (to ignition switch)

1шт.

Order H642801 for Schematic Wiring Diagram

1шт.

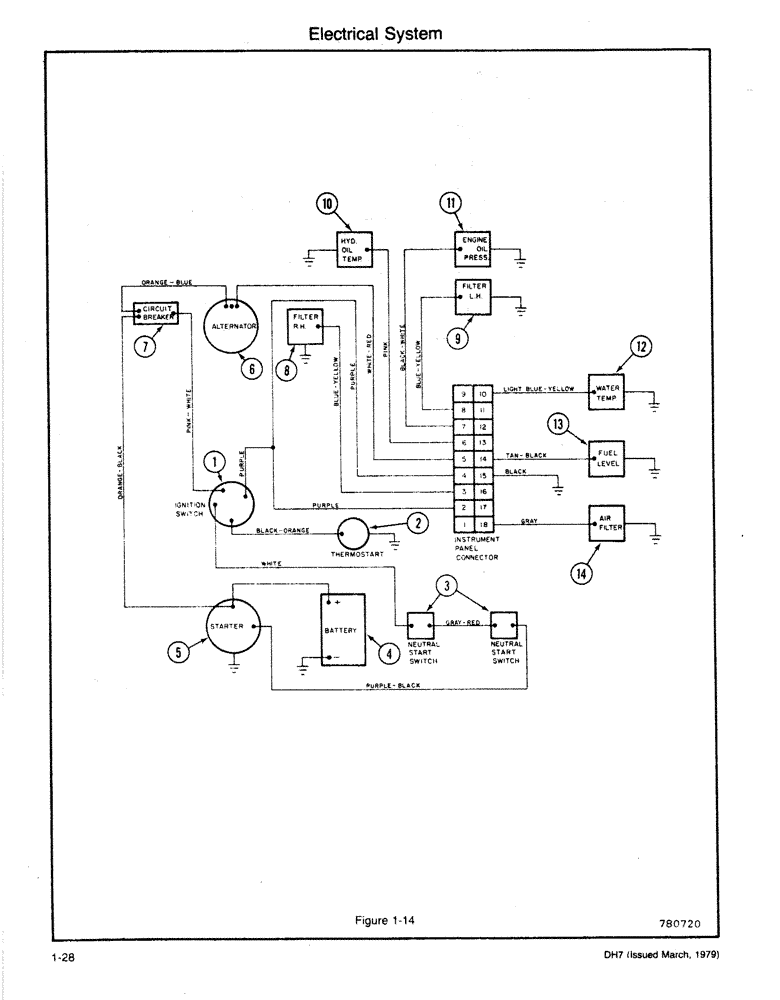
1

K203992

IGNITION SWITCH

SWITCH - Ignition, Thermostart

1шт.

K962338

KEY

KEY - Switch

2шт.

2

K928523

GLOW PLUG

THERMOSTART

1шт.

3

A139078

SWITCH

- Neutral Start, Another switch used (NOT A SUB) Part H406363

2шт.

Units with serial 1188367 and up and Sundstrand 22 series trencher pump, 0 required.

1шт.

4

A60878

BATTERY

(See Figure 1-24)

1шт.

5

STARTER

1шт.

See 219 cid Diesel Engine Parts Catalog for these parts.

1шт.

6

K956446

ALTERNATOR

1шт.

See 219 cid Diesel Engine Parts Catalog for these parts.

1шт.

7

A22877

BREAKER,40A

- Circuit (40 amp)

1шт.

173-212

SCREW,Sl Rnd Hd, #10 - 24 x 1/2"

- Round Head (#10 x 1/2)

2шт.

192-18

LOCK WASHER,Helical Spring, #10, 0.196" ID, CST, ZND

WASHER, LOCK, #10

2шт.

131-1142

LOCK NUT,Hex, #10 - 24, Gr A

NUT, LOCK, #10-24, GA

2шт.

8

H342766

SWITCH

- Suction Filter R.H.

1шт.

9

H342766

SWITCH

- Suction Filter L.H.

1шт.

10

H81935

SENDER UNIT

SWITCH - Hydraulic Oil Temperature

1шт.

11

K903851

PRESSURE SWITCH

SWITCH - Engine Oil Pressure

1шт.

12

K921149

TEMPERATURE SENDER

SWITCH - Water Temperature

1шт.

13

H634907

SENDER UNIT

SENDER - Fuel Level (See Figure 1-22)

1шт.

14

D67721

SWITCH

- Air Filter Restriction

1шт.

Выбрано товаров: 28