Запчасти Case DH7 (3-30) - PLOW PUMP ASSEMBLY (35) - HYDRAULIC SYSTEMS

Схема запчастей Case DH7 - (3-30) - PLOW PUMP ASSEMBLY (35) - HYDRAULIC SYSTEMS
FIT
1:1
100%

Артикул

Название

Примечание

Количество

H596304

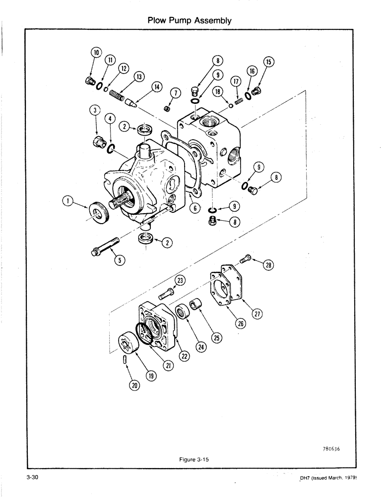
PUMP

ASSEMBLY - Propulsion, Includes: Ref. 1 - 28

1шт.

1

H756296

SEAL

- Shaft

1шт.

2

H354001

SEAL ASSY.

SEAL - Control Shaft

2шт.

3

214389

PLUG,3/4" - 16 ORB

1шт.

5

61-736

HEX SOC SCREW,7/16"-14 x 2 1/4"

SCREW

4шт.

6

H305441

GASKET

1шт.

7

F23137

PLUG

- Pipe

2шт.

8

9672438

PLUG,7/16" - 20 ORB

4шт.

9

218-5003

O-RING,0.072" Thk x 0.351" ID, -904, Cl 6, 90 Duro

4-1, 90 Duro, .351" ID x .072" Thk

4шт.

H591545

LOCK VALVE

KIT - Charge Relief, Includes: Ref. 10 - 14

1шт.

10

NSS

NOT SOLD SEPARAT

PLUG

1шт.

11

NSS

NOT SOLD SEPARAT

O-RING

1шт.

12

NSS

NOT SOLD SEPARAT

SHIM

1шт.

13

NSS

NOT SOLD SEPARAT

SPRING

1шт.

14

NSS

NOT SOLD SEPARAT

VALVE - Relief

1шт.

H591537

KIT

- Check Valve, Includes: Ref. 15 - 18

2шт.

15

NSS

NOT SOLD SEPARAT

PLUG

1шт.

16

NSS

NOT SOLD SEPARAT

O-RING

1шт.

17

NSS

NOT SOLD SEPARAT

SPRING

1шт.

18

NSS

NOT SOLD SEPARAT

BALL

1шт.

H591529

KIT

- Charge Pump, Includes: Ref. 19 - 28

1шт.

19

NSS

NOT SOLD SEPARAT

GRETOR SET

1шт.

20

NSS

NOT SOLD SEPARAT

PIN

1шт.

21

NSS

NOT SOLD SEPARAT

O-RING

1шт.

22

NSS

NOT SOLD SEPARAT

HOUSING

1шт.

23

NSS

NOT SOLD SEPARAT

BOLT

4шт.

24

NSS

NOT SOLD SEPARAT

BEARING

1шт.

25

NSS

NOT SOLD SEPARAT

BEARING - Inner

1шт.

26

NSS

NOT SOLD SEPARAT

GASKET

1шт.

27

NSS

NOT SOLD SEPARAT

PLATE - Cover

1шт.

28

NSS

NOT SOLD SEPARAT

BOLT

6шт.

4

218-5006

O-RING,0.087" Thk x 0.644" ID, -908, Cl 6, 90 Duro

1шт.

Выбрано товаров: 32