Качественные детали и логистика
Оригинальные и аналоговые запчасти с доставкой по России, Казахстану и Беларуси
©2022 PartSell ООО "Система" ИНН 2463123282 ОГРН 1212400004838
Центральный офис: г. Красноярск, Академика Киренского, д.87, пом.4
Телефон: 8 (800) 777-65-74 Email: zakaz@partsell.ru
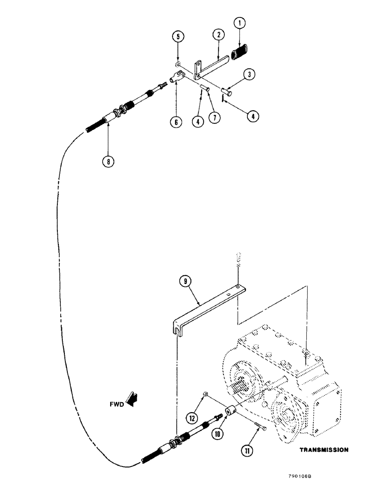
(1-38) - TRANSMISSION SHIFT CONTROL INSTALLATION
№
Артикул
Название
Примечание
Количество
1
H31773
HANDLE
GRIP - handle
1шт.
2
H640573
LEVER
- shifter
3
141-11
CLEVIS PIN,3/8" x 1 1/4"
PIN - clevis
4
132-320
COTTER PIN,3/32" x 3/4"
PIN, SPLIT (COTTER), 3/32" x 3/4"
2шт.
5
195-525
WASHER,3/8", SAE
6
213-2
ADJUSTABLE CLEVIS,1/4"-28 x 2"
CLEVIS - (1/4)
7
D23693
AXLE PIN
8
H559708
CABLE
- transmission
9
H372771
BRACKET
- cable
10
H372789
ADAPTER
Includes: Refs. 11, 12
11
113-17
BOLT,Hex, 1/4" - 20 x 1-1/4", Gr 5
12
131-1180
LOCK NUT,1/4"-20, GA
NUT, LOCK, 1/4"-20, GA
Выбрано товаров: 0