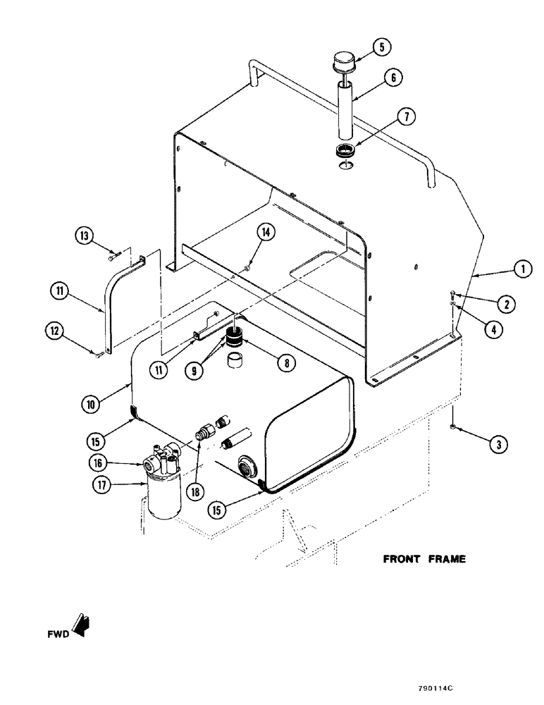
Запчасти Case FH4 (1-40) - CONSOLE, HYDRAULIC RESERVOIR, FILTER INSTALLATION, 1.8 LITRE DIESEL ENGINE (35) - HYDRAULIC SYSTEMS

Схема запчастей Case FH4 - (1-40) - CONSOLE, HYDRAULIC RESERVOIR, FILTER INSTALLATION, 1.8 LITRE DIESEL ENGINE (35) - HYDRAULIC SYSTEMS
FIT
1:1
100%

Артикул

Название

Примечание

Количество

1

H637504

CONSOLE ASSEMBLY, Includes: Refs. 2-4

1шт.

2

113-102

BOLT,Hex, 5/16" - 18 x 3/4", Gr 5

Hex, 5/16"-18 x 3/4", G5, Full Thd

6шт.

3

195-521

WASHER,5/16", SAE

NUT - NC hex C/L (5/16)

6шт.

4

131-176

LOCK NUT,Prev Torque, Hex, 5/16" - 18, Gr A

WASHER - flat (5/16)

6шт.

5

H269639

DIPSTICK

1шт.

6

H377358

TUBE,38.1 mm OD x 205 mm L

- oil fill

1шт.

7

49564

GROMMET,1 1/2" ID x 1 3/4" Groove Dia

1шт.

8

H218396

HOSE ASSY.

HOSE

1шт.

9

214-258

HOSE CLAMP,#28, 1.31" - 2.25", Type F Worm

2шт.

10

H637561

RESERVOIR - oil

1шт.

11

H372094

STRAP

- reservoir, Includes: Refs. 12-14

4шт.

12

113-102

BOLT,Hex, 5/16" - 18 x 3/4", Gr 5

Hex, 5/16"-18 x 3/4", G5, Full Thd

4шт.

13

113-104

BOLT,Hex, 5/16" - 18 x 1-1/4", Gr 5

2шт.

14

131-176

LOCK NUT,Prev Torque, Hex, 5/16" - 18, Gr A

NUT - NC hex (5/16)

6шт.

15

H293928

SEAL

DORTITE

2шт.

H649269

FILTER

ASSEMBLY - suction, Includes: Refs. 16, 17

1шт.

16

NSS

NOT SOLD SEPARAT

HEAD - filter

1шт.

17

H335620

HYDRAULIC OIL FILTER

ELEMENT - filter

1шт.

18

218-5094

ADAPTER,1-3/16" - 12 ORB x 3/4" NPT

CONNECTOR - (1-1/16 ORB x 3/4 NPT Fm)

2шт.

218-5008

O-RING,0.116" Thk x 0.924" ID, -912, Cl 6, 90 Duro

- (1-1/16)

1шт.

Выбрано товаров: 20