Запчасти Case 400TX (9-50) - HYDRAULIC CIRCUIT - POWER WRENCH

Схема запчастей Case 400TX - (9-50) - HYDRAULIC CIRCUIT - POWER WRENCH
FIT
1:1
100%

Артикул

Название

Примечание

Количество

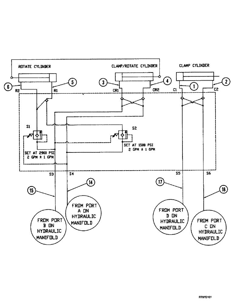
1

73004053

HOSE ASSY.

HOSE - 470 mm (18-3/8 inch) long, power wrench manifold, Serial Range: C1-cylinder

1шт.

2

73004054

HOSE ASSY.

HOSE - 290 mm (11-3/8 inch) long, power wrench manifold, Serial Range: C2-cylinder

1шт.

3

73004053

HOSE ASSY.

HOSE - 470 mm (18-3/8 inch) long, power wrench manifold, Serial Range: CR1-cylinder

1шт.

4

73004056

HOSE ASSY.

HOSE - 340 mm (13-3/8 inch) long, power wrench manifold, Serial Range: CR2-cylinder

1шт.

5

73004051

HOSE ASSY.

HOSE - 420 mm (16-1/2 inch) long, power wrench manifold, Serial Range: R1-cylinder

1шт.

6

73004052

HOSE ASSY.

HOSE - 640 mm (25-3/8 inch) long, power wrench manifold, Serial Range: R2-cylinder

1шт.

14

TX402312

HOSE ASSY.

HOSE - 2100 mm (82-3/4 inch) long, manifold A to power wrench manifold S4

1шт.

15

TX402311

HOSE ASSY.

HOSE - 2050 mm (80-3/4 inch) long, manifold Bto power wrench manifold S3

1шт.

16

TX402312

HOSE ASSY.

HOSE - 2100 mm (82-3/4 inch) long, manifold Cto power wrench manifold S6

1шт.

17

TX402311

HOSE ASSY.

HOSE - 2050 mm (80-3/4 inch) long, manifold Dto power wrench manifold S5

1шт.

Выбрано товаров: 10