Запчасти Case 400TX (9-12) - TRANSPORT VALVE FITTINGS

Схема запчастей Case 400TX - (9-12) - TRANSPORT VALVE FITTINGS
FIT
1:1
100%

Артикул

Название

Примечание

Количество

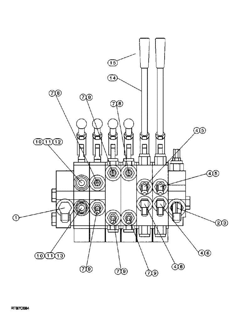
1

218-5121

ELBOW,90 Degree Elbow, 3/4" - 16 Male JIC x 7/8" - 14 Male ORB

- 90 degree, adj O-ring boss

1шт.

237-6010

O-RING,0.097" Thk x 0.755" ID, -910, Cl 6, 90 Duro

- 5/8 to 1/2 inch reducing

1шт.

2

218-5230

ELBOW,90 Degree, 3/4"-16, 37 Degree x 3/4"-16, 37 Degree Fem Sw

- 90 degree, 3/4-16 inch flare x swivel

1шт.

3

218-5060

HYD CONNECTOR,3/4" - 16 Male JIC x 7/8" - 14 Male ORB

Adapter, straight, O-ring boss 3/4"-16, 37º x 7/8"-14, O-Ring

1шт.

237-6014

O-RING,0.116" Thk x 1.048" ID, -914, Cl 6, 90 Duro

14-1, 90 Duro, 1.048" ID x .116" Thk

1шт.

4

218-5314

ADAPTER,1/2" NPT Male x 1/2" Fem ORB

4шт.

237-6008

O-RING,0.087" Thk x 0.644" ID, -908, Cl 6, 90 Duro

8-1, 90 Duro, .644" ID x .087" Thk

1шт.

5

218-5135

ELBOW,45 Degree Elbow, 9/16" - 18 Male JIC x 9/16" - 18 Male ORB

- 45 degree, 9/16-18 inch flare x adj O-ring boss

2шт.

6

218-5105

ELBOW,90 Degree Elbow, 9/16" - 18 Male JIC x 9/16" - 18 Male ORB

- 90 degree, 9/16-18 inch flare x adj O-ring boss

2шт.

7

6410-8-4

BUSHING

- reducer

6шт.

8

218-5053

HYD CONNECTOR,7/16" - 20 JIC x 7/16" - 20 ORB

CONNECTOR - short tube 1/4 inch

2шт.

9

218-5133

ELBOW,45 Degree Elbow, 7/16" - 20 Male JIC x 7/16" - 20 Male ORB

- 45 degree, 7/16-20 inch flare x adj O-ring boss

2шт.

10

218-5099

FITTING

ADAPTER - straight, 1/2 inch O-ring boss x 1/2 inch female PT

2шт.

11

80309057

NIPPLE, LUBE

NIPPLE - pipe, 3-1/2 inch

1шт.

12

15050112

COUPLING

COUPLER - self sealing, female

1шт.

13

15050212

NIPPLE, LUBE

COUPLER - self sealing, male

1шт.

14

660158007

HANDLE

ASSEMBLY - control valve, Includes: Ref. 15

6шт.

15

30604519

KNOB

- handle, black

1шт.

237-6005

O-RING,0.072" Thk x 0.414" ID, -905, Cl 6, 90 Duro

5-1, 90 Duro, .414" ID x .072" Thk

1шт.

237-6004

O-RING,0.072" Thk x 0.351" ID, -904, Cl 6, 90 Duro

4-1, 90 Duro, .351" ID x .072" Thk

1шт.

237-6004

O-RING,0.072" Thk x 0.351" ID, -904, Cl 6, 90 Duro

4-1, 90 Duro, .351" ID x .072" Thk

1шт.

237-6006

O-RING,0.078" Thk x 0.468" ID, -906, Cl 6, 90 Duro

6-1, 90 Duro, .468" ID x .078" Thk

1шт.

237-6006

O-RING,0.078" Thk x 0.468" ID, -906, Cl 6, 90 Duro

6-1, 90 Duro, .468" ID x .078" Thk

1шт.

Выбрано товаров: 23