Запчасти Case 6010 (09-02) - PIPE LOADER - ARM ASSY (89) - TOOLS

Схема запчастей Case 6010 - (09-02) - PIPE LOADER - ARM ASSY (89) - TOOLS
3
7
15
1
13
10
10
4
8a
9
2
10
12
13a
14
5
8
6
16
11
FIT
1:1
100%

Артикул

Название

Примечание

Количество

367471A1

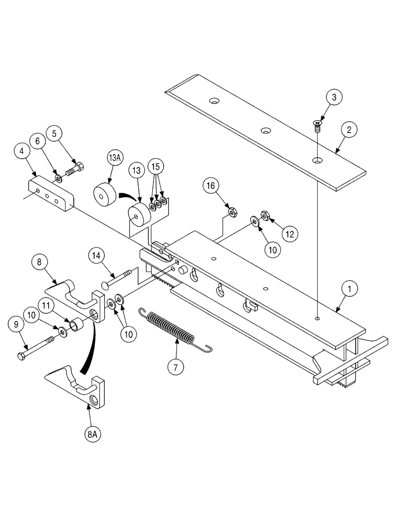
Pipe Loader, Not Serviced As An Assembly, Order Components, Consists of: 1 - 16

2шт.

1

361680A2

BRACKET

Arm

1шт.

2

346593A2

WEAR PAD

Replaces: 346593A1

1шт.

3

443-13112

SCREW,Cross Flat Hd, 5/16"-18 x 3/4"

5/16 x 3/4 inch

3шт.

4

367470A1

STRIP

Wear Strip

1шт.

5

413-516

BOLT,Hex, 5/16" - 18 x 1", Gr 5

2шт.

6

496-21034

WASHER,11/32" x 11/16" x 0.89", HDN

2шт.

7

H128280

VALVE SPRING

1шт.

8

368853A3

GRIPPER

Gripper, Replaces: 368853A2, No Longer Available, Order: 368853A4

1шт.

8a

368853A4

GRIPPER

Gripper

1шт.

9

413-644

BOLT,Hex, 3/8" - 16 x 2-3/4", Gr 5

1шт.

10

496-21041

WASHER,13/32" x 13/16" x .089", HDN

4шт.

11

368850A1

SPACER

1шт.

12

425-106

NUT,3/8"-16, Cl 5

1шт.

13

361684A1

WHEEL

Roller, Has Flat OD, No Longer Available, Order: 353018A1

1шт.

13a

353018A1

WHEEL

Roller, Has Convex OD

1шт.

14

433-532

CARRIAGE BOLT,Sq Nk, 5/16" - 18 x 2", Gr 5

5/16 x 2

1шт.

15

496-21034

WASHER,11/32" x 11/16" x 0.89", HDN

3шт.

16

231-1445

NUT,5/16"-18, GB

1шт.

Выбрано товаров: 19