Запчасти Case 6010 (09-15) - CONTROLS - LEVERS, WRENCH AND STAKEDOWN (89) - TOOLS

Схема запчастей Case 6010 - (09-15) - CONTROLS - LEVERS, WRENCH AND STAKEDOWN (89) - TOOLS
7
9
1
12
13
7
7
1
6
2
8
9
9
9
6
5
4
2
14
13
11
12
8
8
9
8
9
4
5
7
10
3
3
FIT
1:1
100%

Артикул

Название

Примечание

Количество

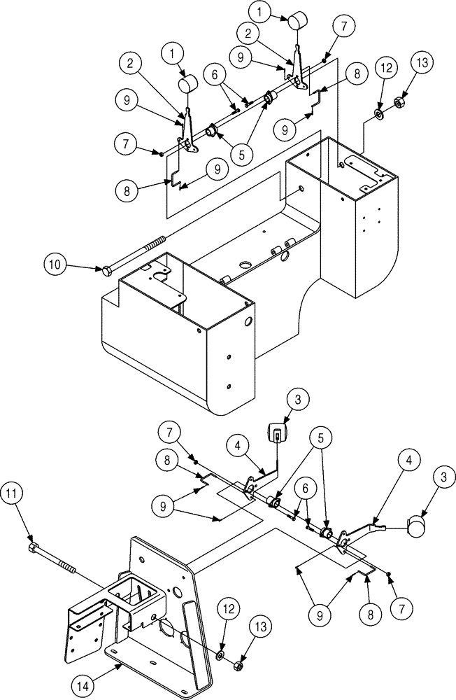
1

A177435

BALL KNOB

Black

2шт.

2

356076A1

HANDLE

Straight, Power Wrench

2шт.

3

A177440

KNOB

Yellow

2шт.

4

352014A1

HANDLE

Angled, Stakedown

2шт.

5

A162299

BEARING,15.95mm ID

Lever

4шт.

6

413-416

BOLT,Hex, 1/4" - 20 x 1", Gr 5

8шт.

7

231-1444

NUT,1/4"-20, GB

8шт.

8

H432963

LINKAGE

4шт.

9

432-412

COTTER PIN,1/16" x 3/4"

8шт.

10

413-10120

BOLT,Hex, 5/8" - 11 x 7-1/2", Gr 5

5/6 x 7-1/2

1шт.

11

413-1096

BOLT,Hex, 5/8" - 11 x 6", Gr 5

5/8 x 6

1шт.

12

495-11066

WASHER,5/8", SAE

21/32 x 1-5/16 x 3/32

2шт.

13

231-14410

NUT,5/8"-11, GB

2шт.

14

340942A2

BRACKET

Control, Front, Without Spacers, Replaces: 340942A1

1шт.

Выбрано товаров: 14