Запчасти Case 6010 (09-27) - TANK - ANTIFREEZE (89) - TOOLS

Схема запчастей Case 6010 - (09-27) - TANK - ANTIFREEZE (89) - TOOLS
6
12
8
6
2
11
2
10
9
4
1
5
13
7
3
FIT
1:1
100%

Артикул

Название

Примечание

Количество

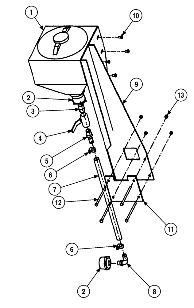
1

98184416

FUNNEL

Includes Lid

1шт.

2

98020075

FITTING

2 PT x 3/4 in PT

2шт.

3

221-1211

FITTING

3/4 PT x 1-3/8

1шт.

4

01434111

BALANCE VALVE

Ball

1шт.

5

98750018

FITTING

3/4 PT x 3/4 barb

1шт.

6

214-1412

HOSE CLAMP,#12, 0.69" - 1.25", Type F Worm

2шт.

7

368429A2

HOSE,19.00 mm ID x 490.00 mm

1шт.

8

98759019

FITTING

90°, 3/4 PT x 3/4 barb

1шт.

9

360640A2

BRACKET

Mounting

1шт.

10

413-58

BOLT,Hex, 5/16" - 18 x 1/2", Gr 5

5/16 x 1/2

4шт.

11

360637A1

PLATE

Mounting

1шт.

12

413-588

BOLT,Hex, 5/16" - 18 x 5-1/2", Gr 5

5/16 x 5-1/2

4шт.

13

231-1445

NUT,5/16"-18, GB

4шт.

Выбрано товаров: 13