Запчасти Case 6010 (02-10) - PAN, OIL, KUBOTA V2003TE ENGINE (10) - ENGINE

Схема запчастей Case 6010 - (02-10) - PAN, OIL, KUBOTA V2003TE ENGINE (10) - ENGINE
4
8
1
7
10
11
2
6
3
5
9
FIT
1:1
100%

Артикул

Название

Примечание

Количество

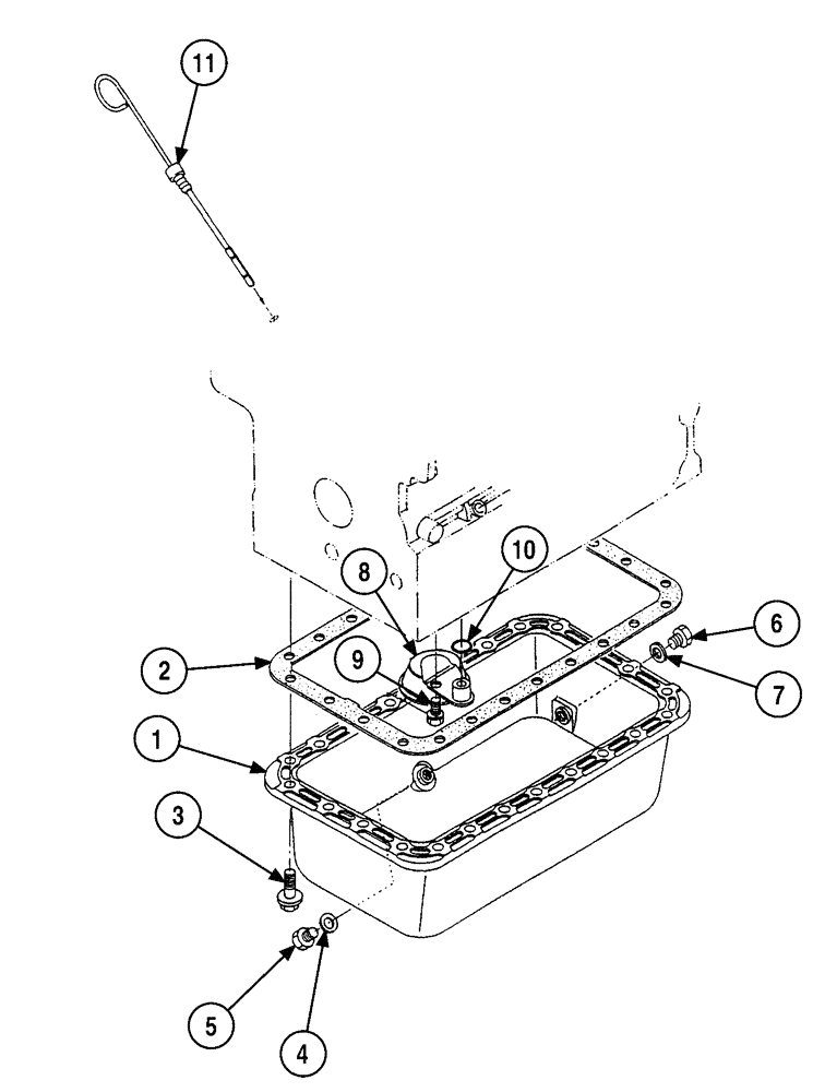
1

368557A1

PAN

oil

1шт.

2

200144A1

GASKET

pan

1шт.

3

125196A1

FLANGE BOLT

flange

24шт.

4

1959150C1

SEALING WASHER

1шт.

5

1959149C1

PLUG

1шт.

6

125197A1

PLUG

1шт.

7

125198A1

GASKET

1шт.

8

125199A1

FILTER, ENGINE OIL

FILTER, OIL

1шт.

9

1959164C1

BOLT

1шт.

10

125200A1

O-RING

1шт.

11

368564A1

GAUGE

dipstick

1шт.

Выбрано товаров: 11