Запчасти Case 6010 (08-10) - RESERVOIR - HYDRAULIC OIL (35) - HYDRAULIC SYSTEMS

Схема запчастей Case 6010 - (08-10) - RESERVOIR - HYDRAULIC OIL (35) - HYDRAULIC SYSTEMS
2
6
5
8
8
4
9
7
5
3
6
1
7
5
FIT
1:1
100%

Артикул

Название

Примечание

Количество

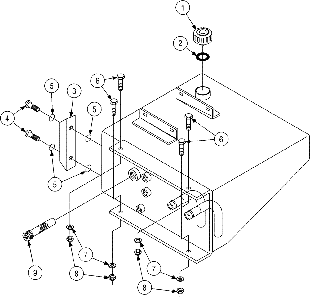
336493A2

TANK

Hydraulic Oil, Includes: 1 - 5

1шт.

1

257448A1

CAP

Includes: 2

1шт.

2

292259A1

SEAL

1шт.

L116247

GAUGE

Includes: 3 - 5, Plus Additional Parts Not Required For This Application

1шт.

3

NSS

NOT SOLD SEPARAT

Gauge, Order: L116247

1шт.

4

N13213

BOLT

Hollow

2шт.

5

238-7112

O-RING,0.103" Thk x 0.487" ID, -112, Cl 7, 75 Duro

4шт.

6

413-824

BOLT,Hex, 1/2" - 13 x 1-1/2", Gr 5

4шт.

7

496-21053

WASHER,17/32" x 1 1/16" x .134"

Hardened

8шт.

8

231-1448

NUT,1/2"-13, GB

4шт.

9

H151399

FILTER STRAINER

Return Line

1шт.

Выбрано товаров: 11