Запчасти Case 6010 (08-24) - VALVE ASSY - DRILL FLUID CONTROL (35) - HYDRAULIC SYSTEMS

Схема запчастей Case 6010 - (08-24) - VALVE ASSY - DRILL FLUID CONTROL (35) - HYDRAULIC SYSTEMS
8
7
7
4
5
10
9
6
1
2
3
7
11
FIT
1:1
100%

Артикул

Название

Примечание

Количество

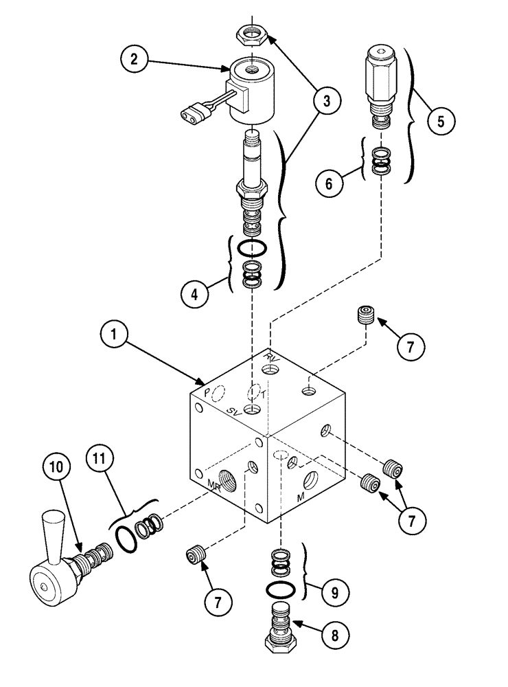
336366A3

VALVE

Drill Fluid, Consists of: 1 - 11, Replaces: 336366A1

1шт.

396132A1

SEAL KIT

Seal, Used With: 336366A3

1шт.

365247A1

SEAL KIT

Seal, Used With: 336366A1

1шт.

1

NSS

NOT SOLD SEPARAT

Body, Valve

1шт.

2

365236A1

COIL

12 V

1шт.

3

365235A1

SOLENOID

Includes: 4

1шт.

4

365237A1

SEAL KIT

Seal, Component Parts Not Serviced Separately

1шт.

5

365243A1

VALVE

Includes: 6

1шт.

6

365237A1

SEAL KIT

Seal, Component Parts Not Serviced Separately

1шт.

7

365231A1

FITTING

4шт.

8

365244A1

VALVE

relief, Includes: 9

1шт.

9

365246A1

SEAL KIT

Seal, Component Parts Not Serviced Separately

1шт.

10

365242A1

VALVE, CONTROL

Includes: 11

1шт.

11

365245A1

SEAL KIT

Seal, Component Parts Not Serviced Separately

1шт.

Выбрано товаров: 14