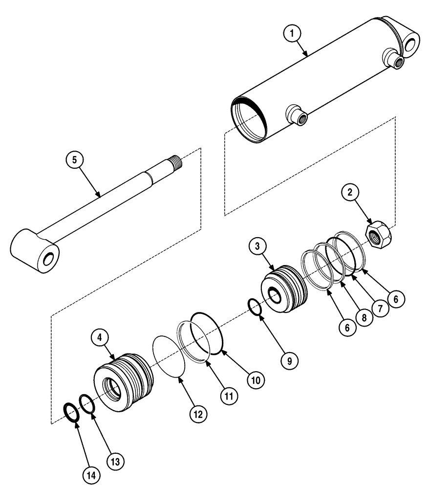
Запчасти Case 6010 (08-29) - CYLINDER ASSY - BOOM TILT (35) - HYDRAULIC SYSTEMS

Схема запчастей Case 6010 - (08-29) - CYLINDER ASSY - BOOM TILT (35) - HYDRAULIC SYSTEMS
8
1
12
5
9
4
6
10
2
13
6
3
14
7
11
FIT
1:1
100%

Артикул

Название

Примечание

Количество

H674312

CYLINDER

Consists of: 1 - 14

1шт.

1

H674937

CYLINDER

1шт.

2

232-46314

LOCK NUT,7/8"-14, GC

(Replaces 20268R1)

1шт.

3

H439025

CYLINDER

1шт.

4

85260C1

HEAD

Front

1шт.

5

H674938

PISTON ROD

1-1/4 dia

1шт.

H674939

GASKET KIT

Seal, Consists of: 6 - 14

1шт.

6

H439026

2шт.

7

NSS

NOT SOLD SEPARAT

O-Ring

1шт.

8

NSS

NOT SOLD SEPARAT

Seal, Piston

1шт.

9

NSS

NOT SOLD SEPARAT

O-Ring

1шт.

10

NSS

NOT SOLD SEPARAT

O-Ring

1шт.

11

NSS

NOT SOLD SEPARAT

Ring, Backup

1шт.

12

NSS

NOT SOLD SEPARAT

Wire, Retaining

1шт.

13

NSS

NOT SOLD SEPARAT

Seal, U-Cup

1шт.

14

NSS

NOT SOLD SEPARAT

Seal, Wiper

1шт.

Выбрано товаров: 16