Запчасти Case 6010 (04-01) - BATTERY - CABLES (55) - ELECTRICAL SYSTEMS

Схема запчастей Case 6010 - (04-01) - BATTERY - CABLES (55) - ELECTRICAL SYSTEMS
6
3
7
1
8
4
3a
9
5
2
FIT
1:1
100%

Артикул

Название

Примечание

Количество

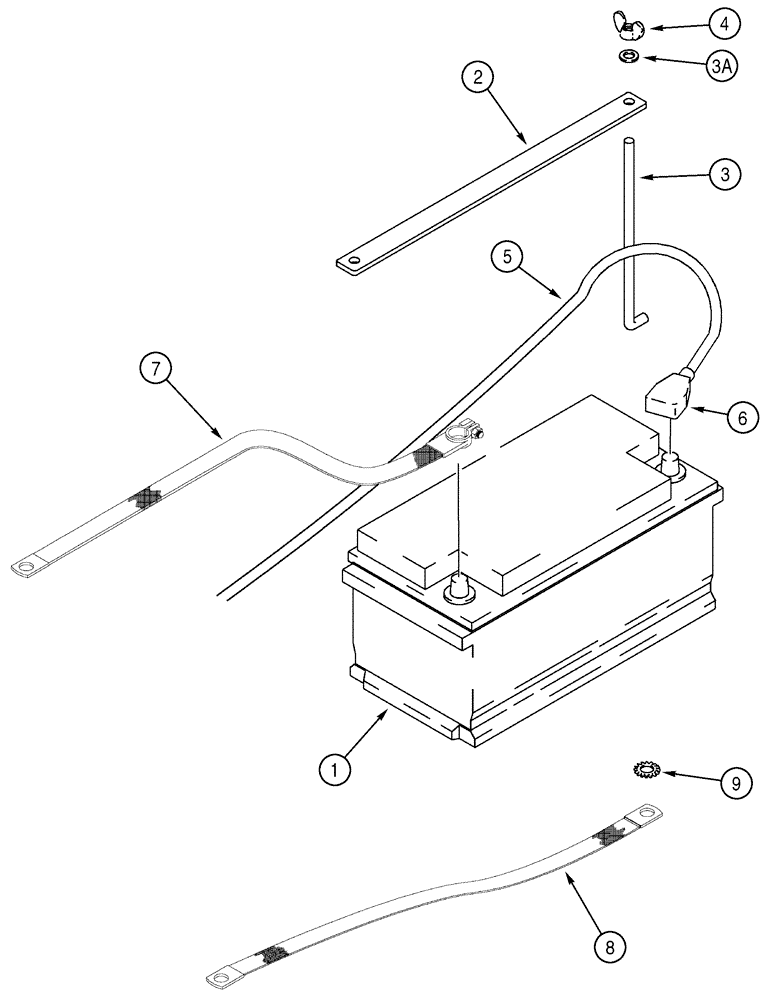
1

234050A1

BATTERY

wet, 12V, Not Serviced, Order Dry Battery From Ship Direct

1шт.

1

B4925

WET BATTERY

dry, 12V, Replaces 234050A1 Wet Battery Used In Production, Order From Ship Direct

1шт.

2

356746A1

STRAP

1шт.

3

H283739

BOLT

5/16 x 8-3/4, special

2шт.

3a

496-21034

WASHER,11/32" x 11/16" x 0.89", HDN

2шт.

4

129-419

WING NUT,5/16"-18

2шт.

5

356747A2

CABLE

Positive, Includes: 6

1шт.

6

383619R1

COVER

boot

1шт.

7

D83485

CABLE,300mm L

Negative

1шт.

8

D127018

STRAP

ground

1шт.

9

493-41052

LOCK WASHER,Ext Tooth, 1/2"

1/2, lock

3шт.

Выбрано товаров: 11