Запчасти Case 6030 (04-04) - BATTERY CABLES (04) - ELECTRICAL SYSTEMS

Схема запчастей Case 6030 - (04-04) - BATTERY CABLES (04) - ELECTRICAL SYSTEMS
2
8
4
6
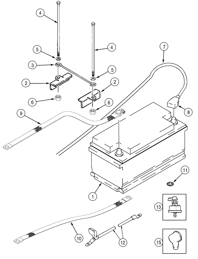
1
13
5
9
12
2
7
11
4
6
5
3
15
10
FIT
1:1
100%

Артикул

Название

Примечание

Количество

1

234050A1

BATTERY

Not Serviced, Order Dry Battery From Ship Direct

1шт.

1

B4925

WET BATTERY

Replaces 234050A1 Wet Battery Used In Production, Order From Ship Direct

1шт.

2

D125079

BRACKET

2шт.

3

D135073

BRACKET

1шт.

4

413-6136

BOLT,Hex, 3/8" - 16 x 8-1/2", Gr 5

2шт.

5

496-11041

WASHER,13/32" x 13/16" x .065", HDN

2шт.

6

231-1446

NUT,3/8" - 16, Gr 5

2шт.

7

H433291

CABLE

Positive, Includes 8

1шт.

8

A27072

COVER

1шт.

9

D83485

CABLE,300mm L

Negative

1шт.

493-41039

LOCK WASHER,Ext Tooth, 3/8"

2шт.

413-616

BOLT,Hex, 3/8" - 16 x 1", Gr 5

2шт.

231-1446

NUT,3/8" - 16, Gr 5

2шт.

614-12025

BOLT,Hex, M12 x 1.75 x 25mm, Cl 8.8, Full Thd

1шт.

10

D127018

STRAP

1шт.

11

893-11012

LOCK WASHER,Ext Tooth, M12

1шт.

12

367865A1

CABLE

Master Disconnect, Serial Range: Switch-Starter

1шт.

13

R52278

SWITCH

Master Disconnect

1шт.

14

116928A2

STARTING MOTOR

Not Illustrated, See Page(s) 4-3, 4-5

1шт.

15

S115407

BOOT

1шт.

Выбрано товаров: 20