Запчасти Case 6030 (04-06) - HARNESS MAIN (04) - ELECTRICAL SYSTEMS

Схема запчастей Case 6030 - (04-06) - HARNESS MAIN (04) - ELECTRICAL SYSTEMS
13
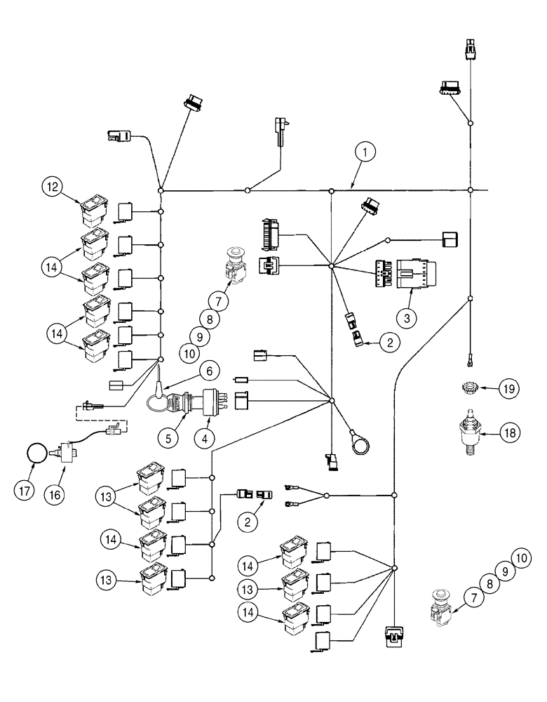
1
3
]
2
14
14
19
7
10
10
13
6
14
9
9
14
5
12
18
8
4
14
13
8
2
17
16
FIT
1:1
100%

Артикул

Название

Примечание

Количество

1

359353A4

HARNESS

Main, Includes 2, 3, See Page(s) 4-17 - 4-23

1шт.

2

L71879

DIODE ELEMENT,400V, 3A

3шт.

3

NSS

NOT SOLD SEPARAT

Diode

1шт.

348125A2

CONTROL

Single - Axis, Rotation, Right Hand, Component Parts Not Available at Time of Printing, Not Illustrated

1шт.

359355A3

HARNESS

Rotation Control, Right Hand, Used With 348125A2, Not Illustrated

1шт.

386553A2

HANDLE

Single - Axis, Thrust/Pullback, Left Hand, Component Parts Not Available at Time of Printing, Not Illustrated

1шт.

388463A2

HARNESS

Thrust/Pullback Control, Left Hand, Used With 386553A2, Not Illustrated

1шт.

348284A1

CLUSTER, INSTR.

CLUSTER, INSTRUMENT , See Page(s) 4-13, 4-15

1шт.

190-103

SCREW,Cross Pan Hd, #10 - 32 x 1"

Cluster

4шт.

D122634

ISOLATOR,12.7mm OD x 14.1mm L

Cluster

4шт.

4

282775A1

IGNITION SWITCH

Includes 5, 6

1шт.

5

A77314

NUT

1шт.

6

1964831C2

IGNITION KEY

Padded

1шт.

359250A1

SWITCH

E-Stop (Emergency Stop) Switch, Consists Of 7 - 10

2шт.

7

359246A1

BUTTON

E-Stop (Emergency Stop) Switch

1шт.

8

359247A1

SWITCH

Normally Open Section

1шт.

9

359248A1

SWITCH

Normally Closed Section

1шт.

10

359249A1

HARNESS

E-Stop (Emergency Stop) Switch

1шт.

11

370434A1

SWITCH

Seat, Not Illustrated, Order 320974A1, See Page(s) 9-61

1шт.

12

400835A1

SWITCH

Three Position, Drill Fluid Pump, If Equipped

1шт.

13

360931A1

SWITCH

Three Position, Momentary, Throttle, Front, Throttle, Rear, Loader Arm, Loader Lift

4шт.

14

360930A1

SWITCH

Two Position, Two Speed Ground Drive, Front Lights, Rear Lights, Beacon, Stakedown, Feed And Speed, Rotation Speed

7шт.

16

384083A2

SWITCH

1шт.

17

385965A1

KNOB

1шт.

18

A166057

TEMPERATURE SENDER,1/2" - 14 NPTF

Hydraulic Oil Temperature

1шт.

19

193-1000

NUT,Keps, w/LW,#10-32

With External Tooth Lock Washer

1шт.

382892A1

PLUG

If Equipped

2шт.

Выбрано товаров: 27