Запчасти Case 6030 (04-08) - HARNESS BOOM (04) - ELECTRICAL SYSTEMS

Схема запчастей Case 6030 - (04-08) - HARNESS BOOM (04) - ELECTRICAL SYSTEMS
3
4
5
3
2
3
1
8
7
8
6
FIT
1:1
100%

Артикул

Название

Примечание

Количество

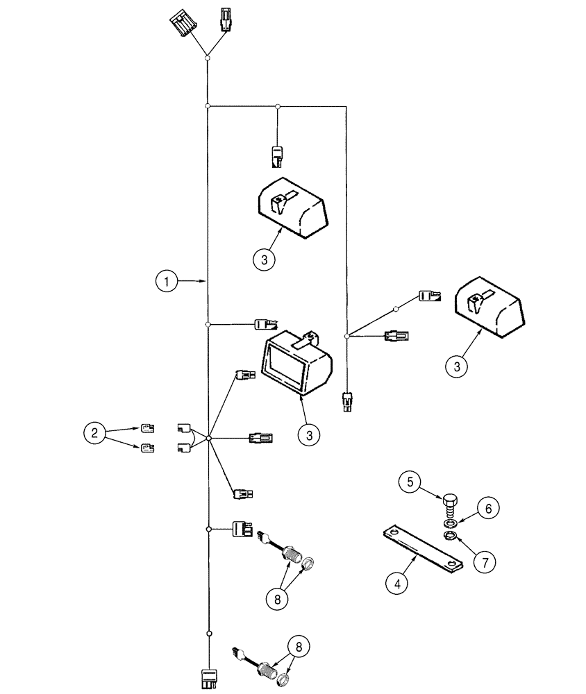
1

359356A2

HARNESS

Includes 2

1шт.

2

L71879

DIODE ELEMENT,400V, 3A

2шт.

3

109081A1

SPOTLIGHT

Work Lamp, See Page(s) 4-27

3шт.

4

382880A1

BAR ASSY.

Drill Drive Work Lamp, Rear Work Lamp

1шт.

5

413-612

BOLT,Hex, 3/8" - 16 x 3/4", Gr 5

2шт.

6

496-11041

WASHER,13/32" x 13/16" x .065", HDN

2шт.

7

492-11038

LOCK WASHER,3/8"

2шт.

8

D136898

SWITCH

Proximity Switch, Drill Drive, Loader Arm, Includes Nuts

2шт.

Выбрано товаров: 8