Запчасти Case 6030 (09-04) - DRILL PIPE STORAGE RACK (09) - CHASSIS/ATTACHMENTS

Схема запчастей Case 6030 - (09-04) - DRILL PIPE STORAGE RACK (09) - CHASSIS/ATTACHMENTS
5
4
7
2
3
5
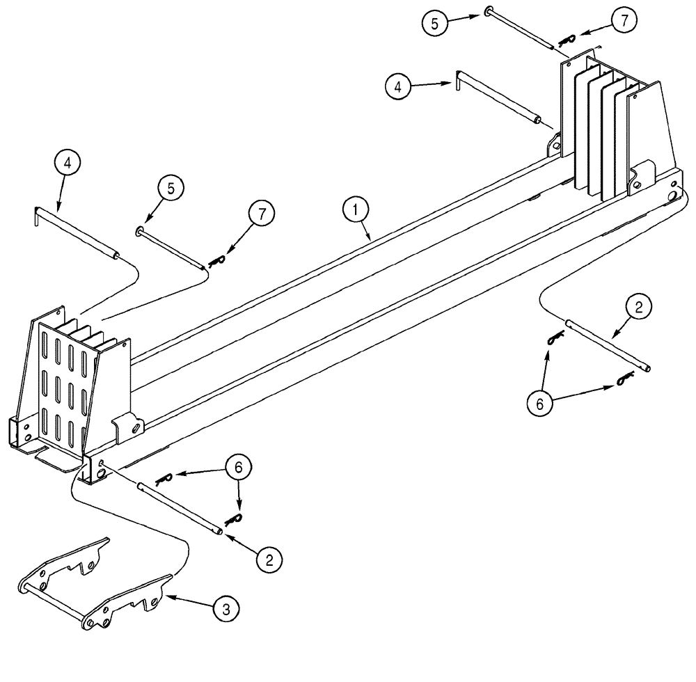
1
2
6
6
4
7
FIT
1:1
100%

Артикул

Название

Примечание

Количество

393823A1

FRAME

Drill Pipe Storage Rack, Not Serviced As An Assembly, Order Components, Consists Of 1 - 9

1шт.

1

393814A1

HOLDER

Drill Pipe Storage Rack, Order From Whole Goods

1шт.

2

393799A1

PIN

2шт.

3

393802A1

ARM

Locking

2шт.

4

393800A1

PIN

2шт.

5

393829A1

PIN

Drill Pipe Locking

2шт.

6

136-251

HAIR PIN COTTER,Int, 7/16" x .177"

6шт.

7

136-164

COTTER PIN,Int, 5/16" x .120"

2шт.

8

283606A1

DECAL

Not Illustrated, See Page(s) 9-69

4шт.

9

291680A1

DECAL

Not Illustrated, See Page(s) 9-69

2шт.

Выбрано товаров: 0