Запчасти Case 6030 (02-02) - RADIATOR MOUNTING (02) - ENGINE

Схема запчастей Case 6030 - (02-02) - RADIATOR MOUNTING (02) - ENGINE
24
13
2
28
5
1
14
7
17
25
9
18
3
26
8
11
22
6
7
30
32
27
12
4
33
7
15
29
32
10
23
21
16
20
31
19
FIT
1:1
100%

Артикул

Название

Примечание

Количество

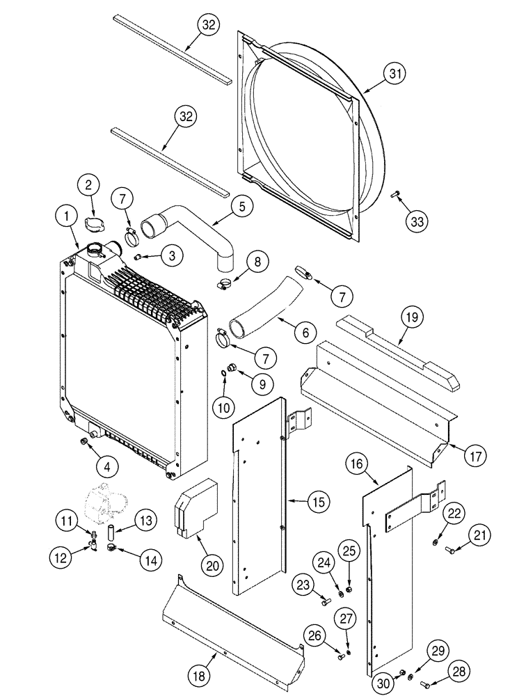
1

244295A1

RADIATOR

See Page(s) 2-11

1шт.

2

A170241

RADIATOR CAP

1шт.

3

86643151

PLUG,Hex Hd, 1/8"-27 NPTF

1шт.

4

86568834

PLUG,1/4" - 18 NPT

1шт.

5

141569A2

RADIATOR HOSE

1шт.

6

387849A1

RADIATOR HOSE,56.40 mm ID x 285.00 mm, SAE J20, SAE 20R4 CLASS D1

1шт.

7

214-1540

HOSE CLAMP,#40, 2.06" - 3", Type F Worm, W/ Liner

3шт.

8

214-1528

HOSE CLAMP,#28, 1.31" - 2.25", Type F Worm, W/ Liner

1шт.

9

214389

PLUG,3/4" - 16 ORB

Includes Ref. 10

1шт.

10

237-6008

O-RING,0.087" Thk x 0.644" ID, -908, Cl 6, 90 Duro

1шт.

11

217-43

REDUCER,1/2" - 14 NPTF x 1/4" - 18 Fem NPTF

1шт.

12

217-92

COCK

Radiator

1шт.

13

114514A1

HOSE,9.65 mm ID x 600.00 mm

Drain

1шт.

14

A171099

HOSE CLAMP,13.2mm - 15.4mm

1шт.

15

383712A1

BRACKET

Left Hand

1шт.

16

383713A1

BRACKET

Right Hand

1шт.

17

381655A1

BRACKET

Upper

1шт.

18

381656A1

BRACKET

Lower

1шт.

19

381699A1

FOAM

Upper

1шт.

20

381700A1

FOAM

Upper Corner

2шт.

21

614-10020

BOLT,Hex, M10 x 1.5 x 20mm, Cl 8.8, Full Thd

2шт.

23

413-516

BOLT,Hex, 5/16" - 18 x 1", Gr 5

9шт.

24

496-11034

WASHER,11/32" x 11/16" x 1/16", HDN

6шт.

25

231-1445

NUT,5/16"-18, GB

9шт.

26

614-8016

BOLT,Hex, M8 x 1.25 x 16mm, Cl 8.8, Full Thd

2шт.

27

896-15008

WASHER,9mm ID x 21mm OD x 2.5mm Thk

2шт.

28

413-512

BOLT,Hex, 5/16" - 18 x 3/4", Gr 5

4шт.

29

496-11034

WASHER,11/32" x 11/16" x 1/16", HDN

8шт.

30

231-1445

NUT,5/16"-18, GB

4шт.

31

187089A2

DEFLECTOR

1шт.

32

190562A2

SEALING STRIP,30mm W x 546mm L x 12.7mm Thk

Shroud

2шт.

33

458-512

BOLT,Hex, 5/16" - 18 x 3/4", Gr 5

4шт.

22

895-11010

WASHER,11mm ID x 20mm OD x 2mm Thk

2шт.

Выбрано товаров: 33