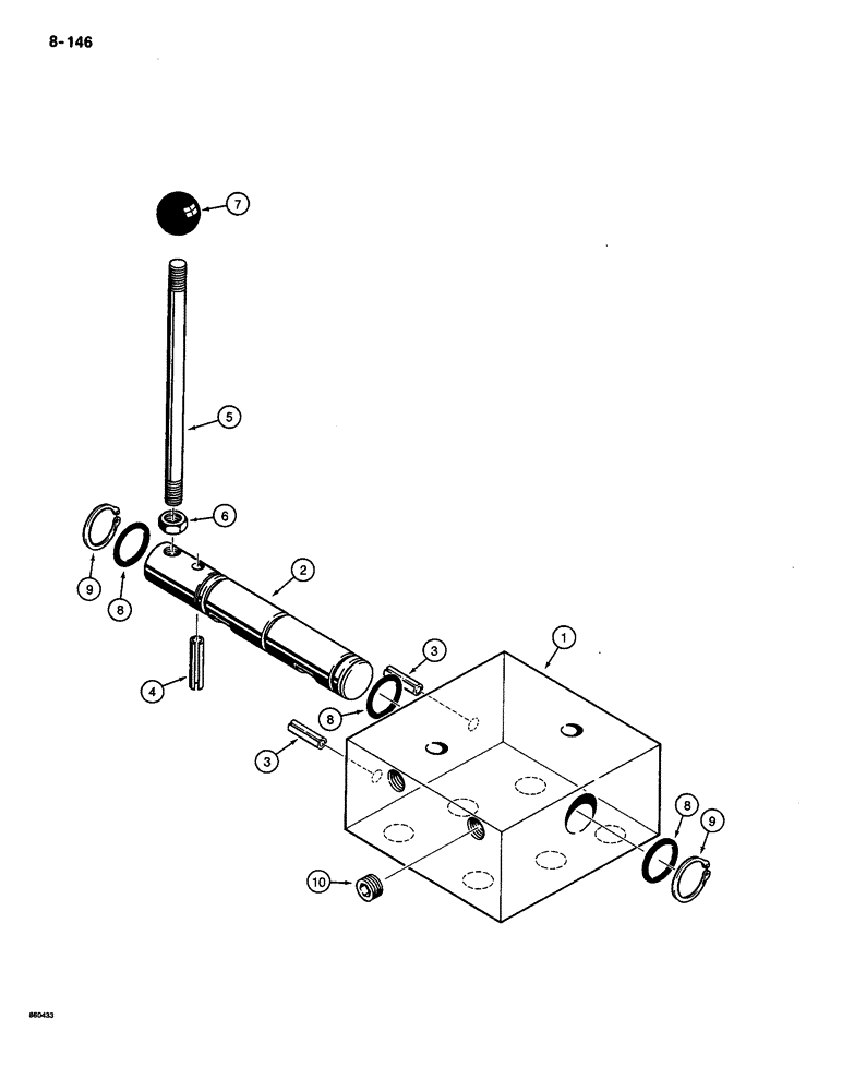
Запчасти Case CASE (8-146) - ATTACHMENT LIFT SELECTOR VALVE (08) - HYDRAULICS

Схема запчастей Case CASE - (8-146) - ATTACHMENT LIFT SELECTOR VALVE (08) - HYDRAULICS
4
8
3
5
2
1
8
9
3
8
6
9
7
10
FIT
1:1
100%

Артикул

Название

Примечание

Количество

H616763

LOCK VALVE

SELECTOR VALVE ASSEMBLY - attachment lift, Hyspeco No. FD5-6, Includes: Refs. 1-10

1шт.

1

NSS

NOT SOLD SEPARAT

HOUSING - valve

1шт.

2

NSS

NOT SOLD SEPARAT

SPOOL - valve

1шт.

3

138-134

LOCK PIN,1/4" x 1", Slotted

PIN, 1/4" x 1", Slotted

2шт.

4

138-138

LOCK PIN,1/4" x 1 1/2", Slotted

PIN, 1/4" x 1 1/2", Slotted

1шт.

5

NSS

NOT SOLD SEPARAT

HANDLE - valve

1шт.

6

86637933

JAM NUT,5/16" - 24, Gr 5

Jam, 5/16"- 24, G5

1шт.

7

H249839

KNOB

- handle

1шт.

8

F62114

O-RING,0.103" Thk x 0.674" ID, -115, Cl 5, 75 Duro

- spool

3шт.

9

B18206

SNAP RING,#87, Ext

RING, Snap, , spool #87, Ext

2шт.

10

217-433

PLUG,Hex Soc, 1/4" - 18 NPTF

4шт.

Выбрано товаров: 0