Запчасти Case CASE (8-02) - HYDRAULIC OIL RESERVOIR (08) - HYDRAULICS

Схема запчастей Case CASE - (8-02) - HYDRAULIC OIL RESERVOIR (08) - HYDRAULICS
2
8
7
4
8
7
5
7
6
5
3
4
1
6
7
FIT
1:1
100%

Артикул

Название

Примечание

Количество

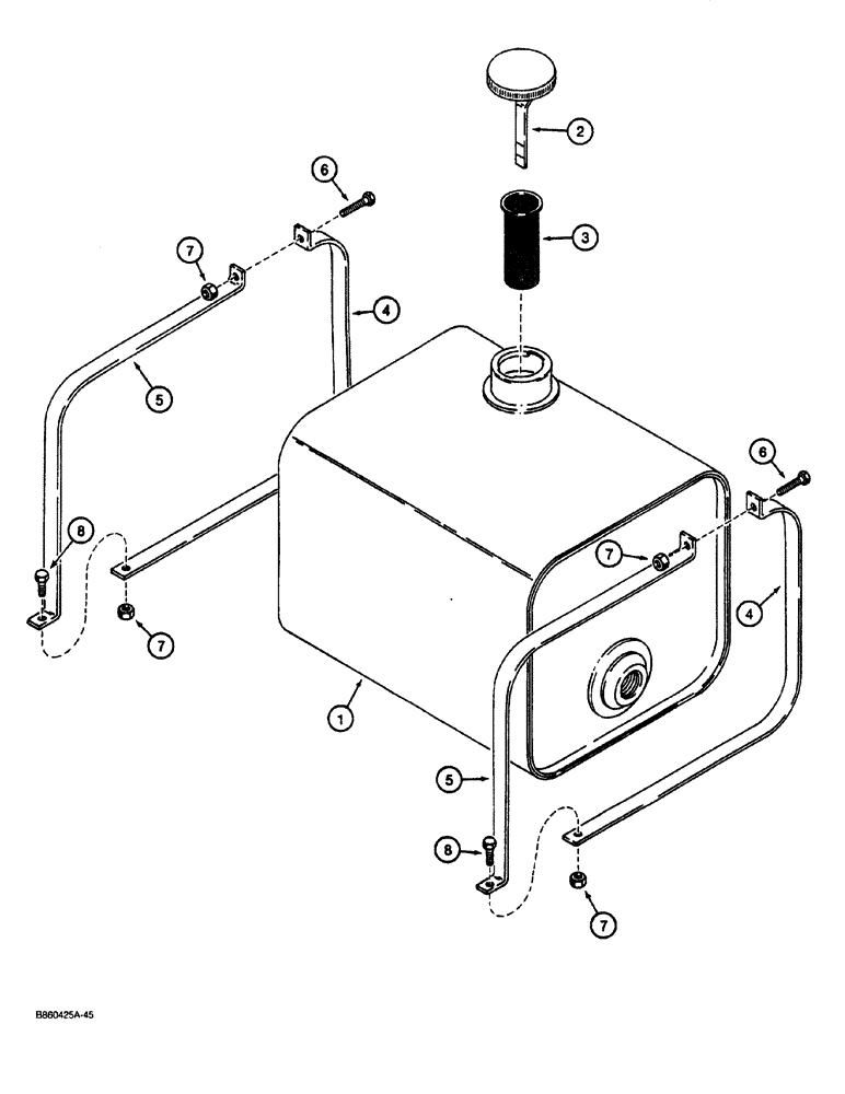
H665133

RESERVOIR

SPARE PART ASSEMBLY hydraulic oil, no longer available, order H673304 reservoir assembly for service, Includes: Ref. 1 - 3

1шт.

H673304

RESERVOIR

ASSEMBLY hydraulic oil, Includes: Ref. 1 - 3

1шт.

1

NSS

NOT SOLD SEPARAT

RESERVOIR hydraulic oil

1шт.

2

N13698

DIPSTICK

CAP hydraulic reservoir, used with H665133 reservoir assembly only

1шт.

2

H435904

DIPSTICK

CAP hydraulic reservoir, used with H673304 reservoir assembly only

1шт.

3

N13699

SCREEN

filter

1шт.

4

H435847

SUPPORT

STRAP reservoir mounting, lower, Replaces: H422451

2шт.

5

H435811

SUPPORT

STRAP reservoir mounting, upper, Replaces: H422469

2шт.

6

113-122

BOLT,Hex, 5/16" - 18 x 1-1/2", Gr 5

2шт.

7

131-176

LOCK NUT,Prev Torque, Hex, 5/16" - 18, Gr A

Hex

4шт.

8

113-102

BOLT,Hex, 5/16" - 18 x 3/4", Gr 5

2шт.

Выбрано товаров: 11