Запчасти Case CASE (9-12) - ATTACHMENT LIFT CONTROL (09) - CHASSIS

Схема запчастей Case CASE - (9-12) - ATTACHMENT LIFT CONTROL (09) - CHASSIS
7
2
10
8
5
1
9
3
9
12
5
4
11
6
FIT
1:1
100%

Артикул

Название

Примечание

Количество

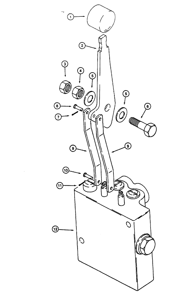
1

A177435

BALL KNOB

attachment lift control

1шт.

2

H426197

HANDLE

attachment lift control

1шт.

3

131-1182

LOCK NUT,1/2"-13, GA

hex, self-locking, plated, 1/2"-13 NC

1шт.

4

129-145

JAM NUT,Jam, 1/2"-13, G5

1шт.

5

195-533

WASHER,1/2", SAE

2шт.

6

113-410

BOLT,Hex, 1/2" - 13 x 1-1/2", Gr 5, Full Thd

1шт.

7

132-328

COTTER PIN,1/16" x 1/2"

1шт.

8

H44529

AXLE PIN

clevis

1шт.

9

H423046

LINK

steering and attachment lift valve

2шт.

10

H44529

AXLE PIN

clevis

1шт.

11

132-328

COTTER PIN,1/16" x 1/2"

1шт.

12

H656454

VALVE

ASSEMBLY control, steering and attachment lift, parts list Figure 5-16

1шт.

Выбрано товаров: 12