Запчасти Case MAXI-SNEAKER (04-006) - ALTERNATOR ASSEMBLY, KUBOTA V1505 ENGINE, KUBOTA V1505-B ENGINE (04) - ELECTRICAL SYSTEMS

Схема запчастей Case MAXI-SNEAKER - (04-006) - ALTERNATOR ASSEMBLY, KUBOTA V1505 ENGINE, KUBOTA V1505-B ENGINE (04) - ELECTRICAL SYSTEMS
17
26
22
8
2
24
18
7
15
1
12
20
23
6
4
19
3
11
27
5
13
14
9
10
25
16
21
FIT
1:1
100%

Артикул

Название

Примечание

Количество

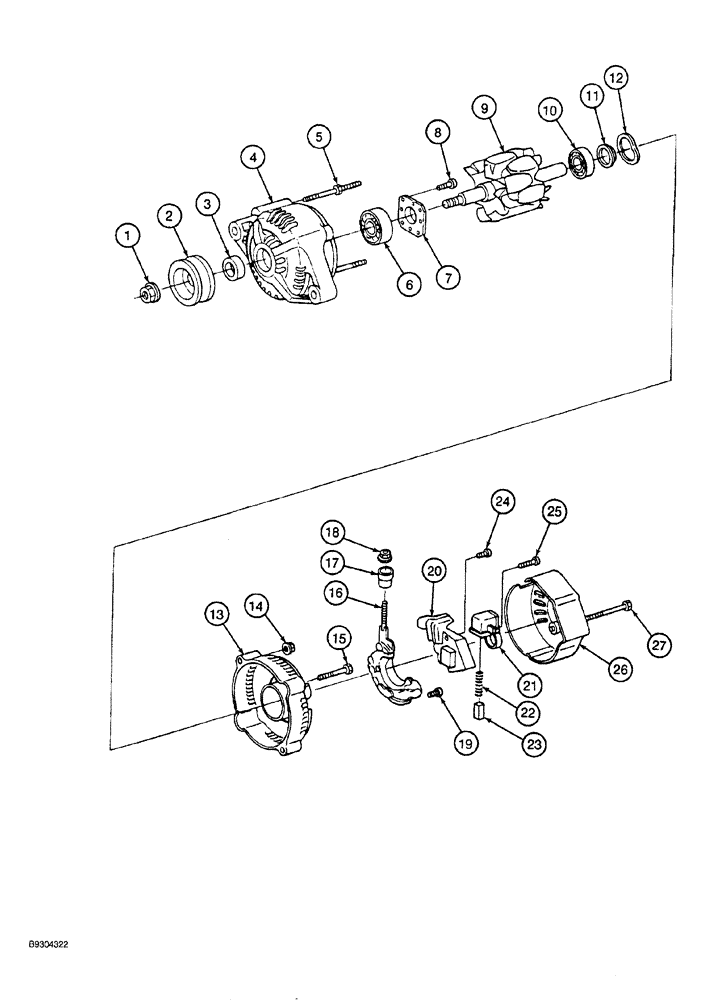
125564A1

ALTERNATOR

ASSEMBLY engine, see Figure 04-002 for mounting parts, Includes: Ref. 1 - 27

1шт.

1

129413A1

FLANGE NUT

hex flange, special

1шт.

2

129412A1

PULLEY

alternator

1шт.

3

129414A1

COLLAR

COLLAR alternator frame

1шт.

4

129419A1

COVER

FRAME alternator drive end

1шт.

5

129424A1

BOLT

STUD with nut

2шт.

6

129425A1

BEARING, BALL

1шт.

7

129420A1

IDENTITY PLATE

retainer

1шт.

8

129422A1

SCREW

round head, special

4шт.

9

129415A1

ROTOR

alternator

1шт.

10

129417A1

BEARING, BALL

1шт.

11

129416A1

BEARING COVER

alternator bearing

1шт.

12

129418A1

THRUST WASHER

thrust

1шт.

13

129426A1

FRAME

FRAME alternator, end

1шт.

14

129457A1

FLANGE NUT

hex flange, special

2шт.

15

129458A1

BOLT

hex flange, special

2шт.

16

129429A1

RECTIFIER

alternator

1шт.

17

129430A1

BUSHING

insulation

1шт.

18

129459A1

FLANGE NUT

hex flange, special

1шт.

19

129454A1

BOLT

round head, special, rectifier

6шт.

20

129460A1

HEATED GLASS

voltage

1шт.

21

129431A1

BRUSH HOLDER

HOLDER voltage regulator brush

1шт.

22

129452A1

SPRING

brush

2шт.

23

129432A1

COMMUTATOR BRUSH

voltage regulator

2шт.

24

129453A1

BOLT

round head, special

2шт.

25

129455A1

BOLT

round head, special

1шт.

26

129428A1

COVER

alternator end

1шт.

27

129456A1

BOLT

hex, special

3шт.

Выбрано товаров: 28