Запчасти Case MAXI-SNEAKER (08-002) - HYDRAULIC OIL RESERVOIR (08) - HYDRAULICS

Схема запчастей Case MAXI-SNEAKER - (08-002) - HYDRAULIC OIL RESERVOIR (08) - HYDRAULICS
4
8
8
7
2
5
6
1
7
5
4
6
3
8
8
FIT
1:1
100%

Артикул

Название

Примечание

Количество

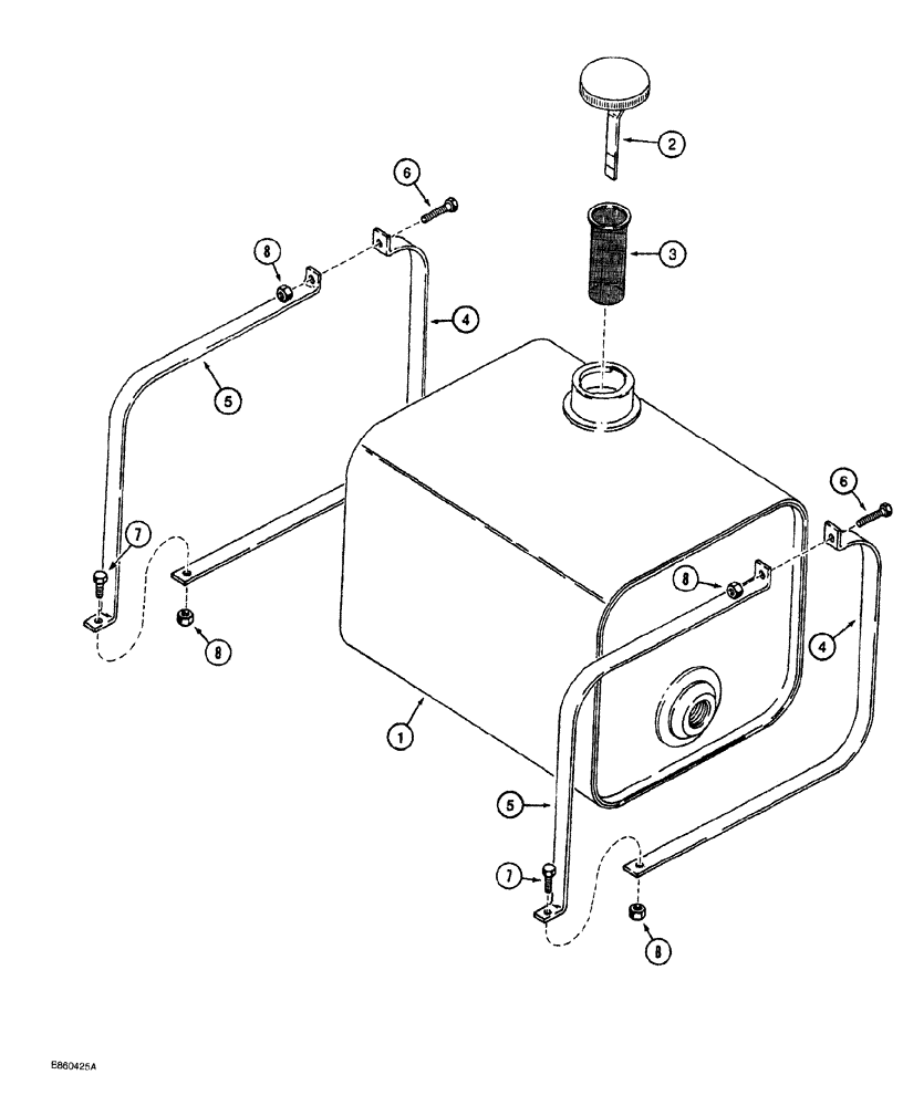
111566A1

RESERVOIR

ASSEMBLY hydraulic fluid, 6.8 gallon (25.8 liter) capacity, Includes: Ref. 1 - 3A

1шт.

1

NSS

NOT SOLD SEPARAT

RESERVOIR hydraulic oil, order 111566A1 reservoir assembly

1шт.

2

H435904

DIPSTICK

with cap, used with 2.28 inch diameter hydraulic oil reservoir fill neck

1шт.

2a

177263A1

DIPSTICK

with cap, used with 2.59 inch diameter hydraulic oil reservoir fill neck

1шт.

3

N13699

SCREEN

filter, 1-5/16 inch ID, used with H435904 cap

1шт.

3a

177843A1

SCREEN

filter, 1-1/2 inch ID, used with 177263A1cap

1шт.

4

H435847

SUPPORT

STRAP mounting, reservoir, front and lower

2шт.

5

H435811

SUPPORT

STRAP mounting, reservoir, rear and upper

2шт.

6

413-524

BOLT,Hex, 5/16" - 18 x 1-1/2", Gr 5

2шт.

7

413-512

BOLT,Hex, 5/16" - 18 x 3/4", Gr 5

2шт.

8

232-4115

LOCK NUT,5/16"-18, GC

4шт.

Выбрано товаров: 11