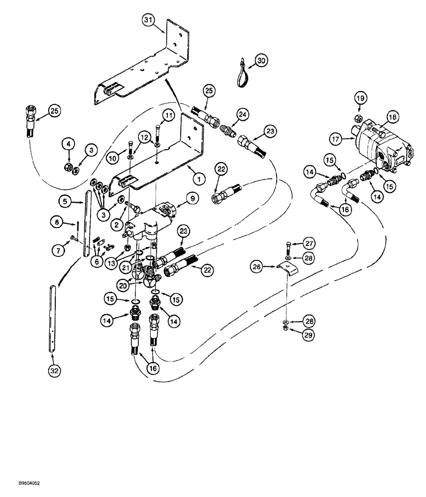
Запчасти Case MAXI-SNEAKER (08-010) - TRENCHER CONTROL VALVE MOUNTING AND DRIVE CIRCUIT (08) - HYDRAULICS

Схема запчастей Case MAXI-SNEAKER - (08-010) - TRENCHER CONTROL VALVE MOUNTING AND DRIVE CIRCUIT (08) - HYDRAULICS
2
10
11
4
19
32
5
23
12
21
18
6
26
7
22
14
15
15
16
23
14
25
9
3
14
1
20
27
31
14
8
13
3
22
17
24
29
15
28
15
30
25
16
28
FIT
1:1
100%

Артикул

Название

Примечание

Количество

1

H664722

SUPPORT

mounting, trencher control valve and attachment selector valve, Serial Range: -JAF0166909

1шт.

2

413-616

BOLT,Hex, 3/8" - 16 x 1", Gr 5

2шт.

3

495-11041

WASHER,0.406" ID x 0.812" OD x 0.065" W

Flat, (13/32 x 13/16 x 1/16")

10шт.

4

232-4116

NUT,3/8"-16, GC

2шт.

5

H377325

LEVER

control, Serial Range: -JAF0166909

1шт.

6

241-1315

LINK, CONNECTING

single pitch, No. 50, 5/8 inch pitch, complete, control, Serial Range: lever-bracket

1шт.

7

H35279

AXLE PIN,4.72mm OD x 23.76mm L

clevis, 3/16 x 57/64 inch

1шт.

8

432-48

COTTER PIN,1/16" x 1/2"

1шт.

9

H544718

LOCK VALVE

ASSEMBLY control, Hydra-Borer, with detent, trencher, parts list Figure 08-020

1шт.

10

413-536

BOLT,Hex, 5/16" - 18 x 2-1/4", Gr 5

1шт.

11

413-540

BOLT,Hex, 5/16" - 18 x 2-1/2", Gr 5

1шт.

12

495-11034

WASHER,5/16", SAE

(flat, 11/32 x 11/16 x 1/16")

2шт.

13

232-4115

LOCK NUT,5/16"-18, GC

2шт.

14

218-5062

HYD CONNECTOR,7/8"-14, 37 Degree x 7/8"-14, O-Ring

ADAPTER straight, 7/8-14 inch flare x O-ring boss, Includes: Ref. 15

4шт.

15

237-6010

O-RING,0.097" Thk x 0.755" ID, -910, Cl 6, 90 Duro

1шт.

16

H432609

HOSE

control valve to trencher drive motor, 2100 mm (82-11/16 inch) long

2шт.

17

188974A1

MOTOR

ASSEMBLY drive, parts list Figure 08-014

1шт.

18

413-824

BOLT,Hex, 1/2" - 13 x 1-1/2", Gr 5

2шт.

19

230-4218

LOCK NUT,1/2"-13, GA

hex, self locking, 1/2 inch NC

2шт.

20

218-5107

90 ELBOW,90 Degree Elbow, 7/8" - 14 Male JIC x 7/8" - 14 Male ORB

Adj. O-ring boss, Incl. Ref. 21

2шт.

21

237-6010

O-RING,0.097" Thk x 0.755" ID, -910, Cl 6, 90 Duro

1шт.

22

L78468

HOSE ASSY.

trencher control valve supply from plow double pump, 940 mm (37 inch) long

1шт.

23

H432542

TUBE

trencher control valve outlet to plow control valve, 400 mm (15-3/4 inch) long

1шт.

On models equipped with a Hydra-Borer, this hose connects to the Hydra-Borer control valve inlet. See Figure 08-022 for complete Hydra-Borer hydraulic circuit.

1шт.

24

218-736

UNION,7/8"-14, 37 Degree x 7/8"-14, 37 Degree

straight, 7/8-14 inch flare

1шт.

25

H431809

HYDRAULIC HOSE,15.88 mm ID x 1600.00 mm, SAE 100R2A

To plow control valve

1шт.

26

H46888

CLAMP

trencher drive motor

1шт.

27

413-528

BOLT,Hex, 5/16" - 18 x 1-3/4", Gr 5

1шт.

28

495-11034

WASHER,5/16", SAE

(flat, 11/32 x 11/16 x 1/16")

2шт.

29

232-4115

LOCK NUT,5/16"-18, GC

1шт.

30

L18337

CABLE TIE,9.95"-12.1" lg

CABLE STRAP tie, nylon, retaining, 15 inch

1шт.

31

179579A1

SUPPORT

mounting, see Figure 04-016 for neutral start switch mounting, Start Serial: JAF0166909

1шт.

32

179581A1

LEVER

control, trencher control valve and neutral start switch, see Figure 04-016 for neutral start switch mounting, Start Serial: JAF0166909

1шт.

Выбрано товаров: 33