Запчасти Case MAXI-SNEAKER C (9-48) - CRUMBER BOOM ATTACHMENTS (09) - CHASSIS/ATTACHMENTS

Схема запчастей Case MAXI-SNEAKER C - (9-48) - CRUMBER BOOM ATTACHMENTS (09) - CHASSIS/ATTACHMENTS
FIT
1:1
100%

Артикул

Название

Примечание

Количество

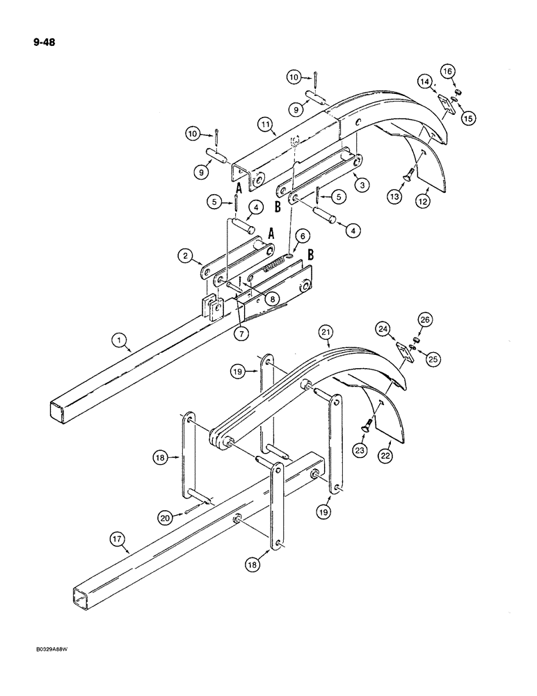
1

H542894

BOOM

- crumber, 3 foot depth, if used with springs

1шт.

1

H542902

BOOM

- crumber, 4 foot depth, if used with springs

1шт.

1

H538553

BOOM

- crumber, 5 foot depth, if used with springs

1шт.

2

H536664

DRAG LINK

LINK - short, upper booms with springs

1шт.

3

H532440

DRAG LINK

LINK - long, lower booms with springs

1шт.

4

H54320

AXLE PIN,19.05mm OD x 79.38mm L

PIN - clevis, special, link retaining, 3/4" x 2-7/8" long booms with springs

2шт.

5

132-349

COTTER PIN,1/4" x 1 1/2"

PIN, Split (Cotter), 1/4" x 1-1/2", Booms with springs

2шт.

6

H128280

VALVE SPRING

SPRING - crumber booms with springs

1шт.

7

H54395

AXLE PIN,9.47mm OD x 60.33mm L

PIN - clevis, special, spring retaining, 3/8" x 2-1/4" long booms with springs

1шт.

8

132-310

COTTER PIN,1/8" x 1"

PIN, SPLIT (COTTER), , Booms with springs 1/8" x 1"

1шт.

9

H118109

AXLE PIN,19.05mm OD x 92.08mm L

PIN - bracket and link retaining booms with springs

2шт.

10

132-345

COTTER PIN,3/16" x 1 1/2"

PIN, SPLIT (COTTER), , Booms with springs 3/16" x 1 1/2"

2шт.

11

H536656

BRACKET

- crumber blade booms with springs

1шт.

12

H127480

BLADE

- crumber, 6" width, if used booms with springs

1шт.

12

H60087

BLADE

- crumber, 8" width, if used booms with springs

1шт.

12

H60103

BLADE

- crumber, 10" width, if used booms with springs

1шт.

12

H60129

BLADE

- crumber, 12" width, if used booms with springs

1шт.

12

H60145

BLADE

- crumber, 14" width, if used booms with springs

1шт.

12

H60160

BLADE

- crumber, 16" width, if used booms with springs

1шт.

12

H60186

BLADE

- crumber, 18" width, if used booms with springs

1шт.

13

111-538

CARRIAGE BOLT,Short NK, 1/2"-13 x 4", G2

BOLT, CARRIAGE, , Booms with springs Short NK, 1/2"-13 x 4", G2

2шт.

14

H309450

SPACER

- blade booms with springs

1шт.

15

195-533

WASHER,1/2", SAE

- flat, 1/2", plated booms with springs

2шт.

16

131-1182

LOCK NUT,1/2"-13, GA

NUT - hex, self-locking, 1/2" - 13 NC, plated booms with springs

2шт.

17

H659177

TUBE

BOOM - crumber, 4 foot depth, if used booms without springs

1шт.

17

H659185

TUBE

BOOM - crumber, 5 foot depth, if used without springs

1шт.

18

H659144

LINK

- short booms without springs

2шт.

19

H659151

LINK

- long booms without springs

2шт.

20

132-312

COTTER PIN,3/16" x 1 1/4"

PIN, SPLIT (COTTER), , Booms without springs 3/16" x 1 1/4"

4шт.

21

H659201

SUPPORT

BRACKET - crumber blade booms without springs

1шт.

22

H127480

BLADE

- crumber, 6" width, if used booms without springs

1шт.

22

H60087

BLADE

- crumber, 8" width, if used booms without springs

1шт.

22

H60103

BLADE

- crumber, 10" width, if used booms without springs

1шт.

22

H60129

BLADE

- crumber, 12" width, if used booms without springs

1шт.

22

H60145

BLADE

- crumber, 14" width, if used booms without springs

1шт.

22

H60160

BLADE

- crumber, 16" width, if used booms without springs

1шт.

22

H60186

BLADE

- crumber, 18" width, if used booms without springs

1шт.

23

111-538

CARRIAGE BOLT,Short NK, 1/2"-13 x 4", G2

BOLT, CARRIAGE, , Booms without springs Short NK, 1/2"-13 x 4", G2

2шт.

24

H309450

SPACER

- blade booms without springs

1шт.

25

195-533

WASHER,1/2", SAE

- flat, 1/2", plated booms without springs

2шт.

26

131-1182

LOCK NUT,1/2"-13, GA

NUT - hex, self-locking, 1/2" - 13 NC, plated booms without springs

2шт.

Выбрано товаров: 41