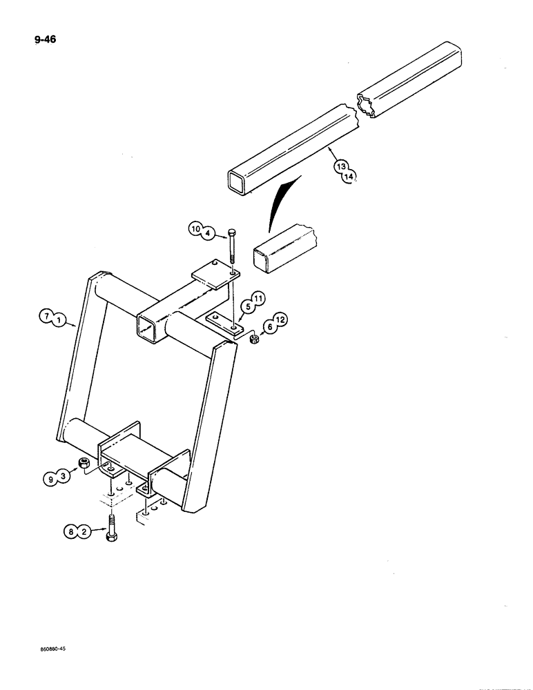
Запчасти Case MAXI-SNEAKER C (9-46) - CRUMBER BOOM AND DIGGING CHAIN GUARD MOUNTING BRACKET (09) - CHASSIS/ATTACHMENTS

Схема запчастей Case MAXI-SNEAKER C - (9-46) - CRUMBER BOOM AND DIGGING CHAIN GUARD MOUNTING BRACKET (09) - CHASSIS/ATTACHMENTS
FIT
1:1
100%

Артикул

Название

Примечание

Количество

1

H648279

SUPPORT

BRACKET - boom, crumber attachment, Uniboom, includes 321-6259 decal, see Figure 9-79 or 9-81 for decal models with crumber

1шт.

2

113-626

BOLT,Hex, 5/8" - 11 x 2-1/2", Gr 5

Models with crumber Hex, 5/8"-11 x 2 1/2", G5

4шт.

3

131-1130

LOCK NUT,5/8"-11, GA

NUT - hex, self-locking, 5/8" - 11 NC, plated, Models with crumber

4шт.

4

113-411

BOLT,Hex, 1/2" - 13 x 4-1/2", Gr 5

Models with crumber Hex, 1/2"-13 x 4 1/2", G5

2шт.

5

H309450

SPACER

PLATE - retainer models with crumber

1шт.

6

131-1182

LOCK NUT,1/2"-13, GA

NUT - hex, self-locking, 1/2" - 13 NC, plated models with crumber

2шт.

7

H648279

SUPPORT

BRACKET - digging chain guard mounting, includes 321-6259 decal, see Figure 9-79 or 9-81 for decal models without crumber

1шт.

8

113-626

BOLT,Hex, 5/8" - 11 x 2-1/2", Gr 5

Models without crumber Hex, 5/8"-11 x 2 1/2", G5

4шт.

9

131-1130

LOCK NUT,5/8"-11, GA

NUT - hex, self-locking, 5/8" - 11 NC, plated, Models without crumber

4шт.

10

113-411

BOLT,Hex, 1/2" - 13 x 4-1/2", Gr 5

Models without crumber Hex, 1/2"-13 x 4 1/2", G5

2шт.

11

H309450

SPACER

PLATE - retainer models without crumber

1шт.

12

131-1182

LOCK NUT,1/2"-13, GA

NUT - hex, self-locking, 1/2" - 13 NC, plated models without crumber

2шт.

13

H672301

GUARD ASSY.

GUARD - digging chain, trencher, used on models with 3 or 4 foot Uniboom, includes warning decals, see Figure 9-79 or 9-81models without crumber

1шт.

14

H672300

SAFETY BELT

GUARD - digging chain, trencher, used on models with 5 foot Uniboom, includes warning decals, see Figure 9-79 or 9-81models without crumber

1шт.

Выбрано товаров: 14