Запчасти Case CASE (1-24) - INSTRUMENT PANEL, ELECTRICAL SYSTEM (04) - ELECTRICAL SYSTEMS

Схема запчастей Case CASE - (1-24) - INSTRUMENT PANEL, ELECTRICAL SYSTEM (04) - ELECTRICAL SYSTEMS
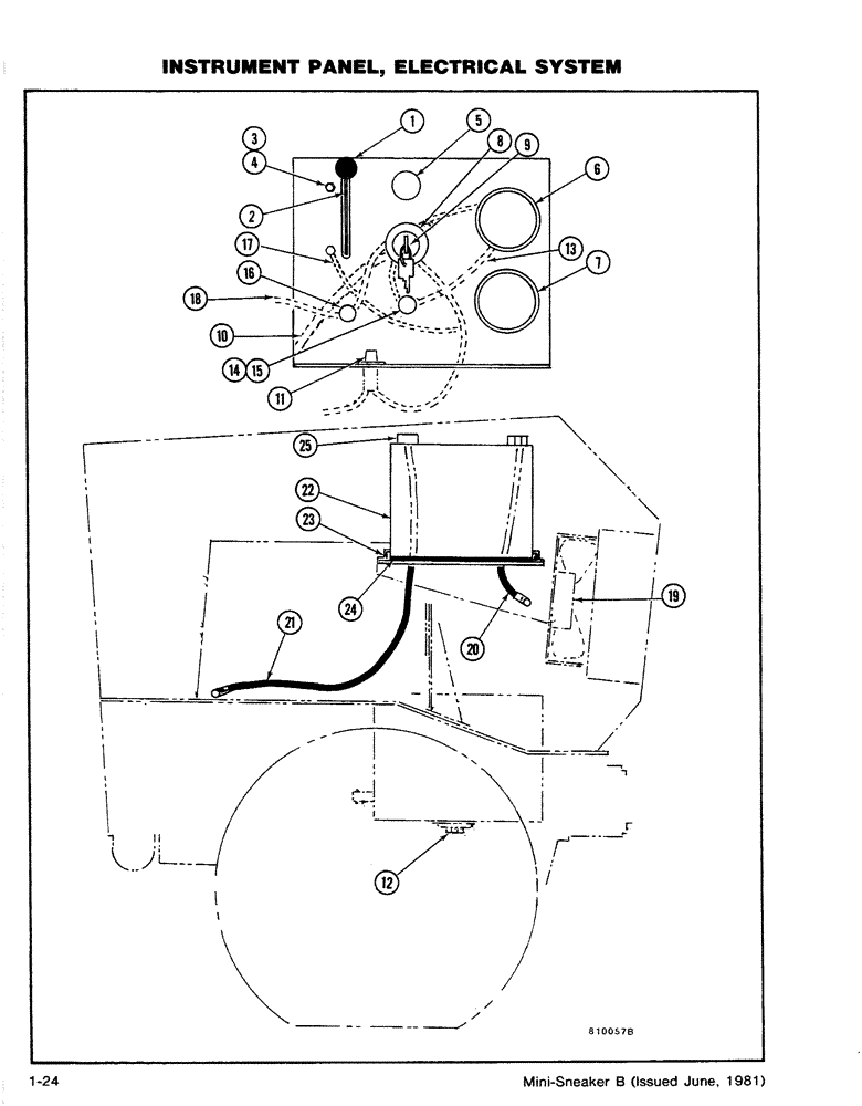
10
21
17
6
24
22
2
5
13
4
15
1
7
8
19
18
20
16
3
23
12
14
9
11
25
FIT
1:1
100%

Артикул

Название

Примечание

Количество

1

H244434

KNOB

- Throttle Control

1шт.

2

H581736

CONTROL BLOCK

CONTROL - Throttle

1шт.

H270785

CONTROL BLOCK

WIRE - Throttle

1шт.

3

113-1

BOLT,Hex, 1/4" - 20 x 1/2", Gr 5

2шт.

4

131-1180

LOCK NUT,1/4"-20, GA

NUT, LOCK, 1/4"-20, GA

2шт.

H42796

STOP

- Throttle Wire

1шт.

5

H346262

CABLE

CONTROL - Choke

1шт.

H243782

NUT

- Conduit

1шт.

6

H347880

AMMETER

1шт.

7

H347898

HOURMETER

METER - Hour

1шт.

8

A77312

SWITCH

- Ignition, Includes: Ref. 9

1шт.

A77314

NUT

1шт.

F67231

WASHER

1шт.

9

A77313

SET OF 2 KEYS

KEY

1шт.

10

H393744

HARNESS

- Wiring

1шт.

Ref. 10 Subs to H433169, For serial numbers 1224490 and after.

1шт.

11

H603852

LIGHT

- Hydraulic Oil Temp

1шт.

P/N H603852, Red replacement lens 114323A1.

1шт.

12

H81935

SENDER UNIT

SENDER - Hydraulic Oil Temp

1шт.

13

H393736

ELECTRICAL WIRE

WIRE -, Serial Range: Ammeter-Fuse

1шт.

14

223-31

FUSE,10 Amp, Type 3AG

30 amp; 3AG

1шт.

Ref. 14 replaced by P/N A22877, circuit breaker Ref. 9 serial No. 1243087 and after use P/N H672448 fan assembly and (2) P/N H434010 mounting brackets. Both P/N H653287, and H672448 fan assembly. Use P/N H428318 motor and H438066 fan blade. Use B2450 battery, dry. If large battery is needed, use B2472 Battery, dry. 9/25/96

1шт.

15

H340505

NOZZLE HOLDER

HOLDER - Fuse

1шт.

16

H371849

INDICATOR

LIGHT - Oil Filter

1шт.

17

H3855187

WIRE

1шт.

18

W14937

ELECTRICAL WIRE

WIRE

1шт.

19

H653287

KIT

MOTOR - Fan

1шт.

223-178

TERMINAL CONNECTOR

TERMINAL - 1/4" Blade

1шт.

163-32

SCREW,Hex, #10 - 24 x 1/2"

BOLT - NC HH (#10-24 x 1/2)

4шт.

131-1142

LOCK NUT,Hex, #10 - 24, Gr A

NUT, LOCK, #10-24, GA

4шт.

20

H116996

CABLE PULLING GRIP

CABLE - (#4 x 19)

1шт.

21

H107979

NEG BATTERY CABLE

CABLE - (#4 x 36)

1шт.

22

H396812

BATTERY

1шт.

23

H413187

BRACKET

- Battery Hold Down

2шт.

113-103

BOLT,Hex, 5/16" - 18 x 1", Gr 5

2шт.

131-176

LOCK NUT,Prev Torque, Hex, 5/16" - 18, Gr A

NUT - NC Hex (5/16 - Lock)

2шт.

24

H413179

PAD

- Battery

1шт.

25

H102681

COVER ASSY

COVER - Battery Terminal

1шт.

Выбрано товаров: 0