Запчасти Case TF300 (9-10) - DRIVE CHAIN GUARD AND DIRT DEFLECTOR (09) - CHASSIS/ATTACHMENTS

Схема запчастей Case TF300 - (9-10) - DRIVE CHAIN GUARD AND DIRT DEFLECTOR (09) - CHASSIS/ATTACHMENTS
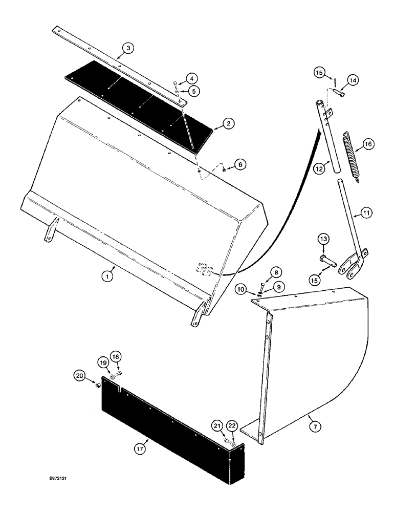
22
9
18
13
14
6
11
4
19
5
17
20
2
16
1
7
21
3
10
15
15
8
12
FIT
1:1
100%

Артикул

Название

Примечание

Количество

1

H529271

DEFLECTOR

- dirt

1шт.

2

H104422

FLAP

- dirt, deflector

1шт.

3

H104414

FLAP

PLATE - dirt flap

1шт.

4

413-512

BOLT,Hex, 5/16" - 18 x 3/4", Gr 5

- hex, 5/16 NC x 3/4 inch

5шт.

5

495-11034

WASHER,5/16", SAE

5/16" SAE (flat, 11/32 x 11/16 x 1/16")

5шт.

6

230-4215

NUT,5/16"-18, GA

NUT - hex, self-locking, 5/16 inch NC

5шт.

7

H528216

GUARD ASSY.

GUARD - dirt, chain drive

1шт.

8

276-24812

SELF-TAP SCREW,5/16" - 18 x 3/4"

SCREW, SELF TAPPING, hex head, 5/16 NC x 3/4"

6шт.

9

492-11031

LOCK WASHER,5/16"

WASHER, LOCK, 5/16"

6шт.

10

495-11034

WASHER,5/16", SAE

5/16" SAE (flat, 11/32 x 11/16 x 1/16")

6шт.

11

H529289

TUBE,344 mm L

BAR - lift, deflector

1шт.

12

H547570

TUBE,317.5 mm L

- guide, deflector

1шт.

13

CASH32920

LARGE PIN

PIN - clevis, 5/8 x 2-1/2 inch long

1шт.

14

H32284

AXLE PIN

PIN - clevis, 3/8 x 1-3/4 inch long

1шт.

15

432-816

COTTER PIN,1/8" x 1"

1/8" x 1"

2шт.

16

H32946

VALVE SPRING

SPRING - deflector

1шт.

17

H90688

FLAP

- dirt, auger baffle

1шт.

18

413-512

BOLT,Hex, 5/16" - 18 x 3/4", Gr 5

- hex, 5/16 NC x 3/4 inch

7шт.

19

495-11034

WASHER,5/16", SAE

5/16" SAE (flat, 11/32 x 11/16 x 1/16")

7шт.

20

230-4215

NUT,5/16"-18, GA

NUT - hex, self-locking, 5/16 inch NC

7шт.

21

276-24812

SELF-TAP SCREW,5/16" - 18 x 3/4"

SCREW, SELF TAPPING, hex head, 5/16 NC x 3/4"

1шт.

22

192-404

LOCK WASHER,5/16"

WASHER, LOCK, 5/16"

1шт.

Выбрано товаров: 0