Запчасти Case TF300 (9-48) - ALLIGATOR STYLE CUTTERS, USED WITH 4 INCH STANDARD DUTY 164 (09) - CHASSIS/ATTACHMENTS

Схема запчастей Case TF300 - (9-48) - ALLIGATOR STYLE CUTTERS, USED WITH 4 INCH STANDARD DUTY 164 (09) - CHASSIS/ATTACHMENTS
5
8
7
4
2
6
1
3
FIT
1:1
100%

Артикул

Название

Примечание

Количество

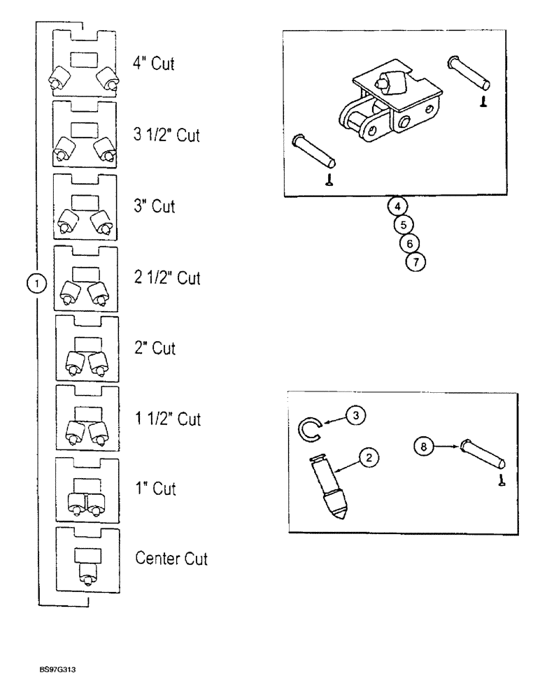
1

ZB16404AXX

CHAIN ASSEMBLY - digging, alligator rock and frost

1шт.

Refer to Publication PM-2071, Case Trencher Replacement Parts Catalog, to determine the last two digits of the part number. Chain assemblies must be ordered from Wholegoods.

1шт.

2

183109A1

BIT

- cutting, carbide

1шт.

3

183108A1

CLIP

- retainer

1шт.

4

ZB16401A01

CHAIN (AG)

REPAIR SECTION - alligator with 2 connector pins, 1 inch cut

1шт.

5

ZB16402A01

CHAIN (AG)

REPAIR SECTION - alligator with 2 connector pins, 2 inch cut

1шт.

6

ZB16403A01

REPAIR SECTION - alligator with 2 connector pins, 3 inch cut

1шт.

7

ZB16404A01

CHAIN (AG)

REPAIR SECTION - alligator with 2 connector pins, 4 inch cut

1шт.

8

253214A1

PIN

- connector

1шт.

Выбрано товаров: 9