Запчасти Case TF300B (04-03) - SWITCH ASSY NEUTRAL START ASSY (04) - ELECTRICAL SYSTEMS

Схема запчастей Case TF300B - (04-03) - SWITCH ASSY NEUTRAL START ASSY (04) - ELECTRICAL SYSTEMS
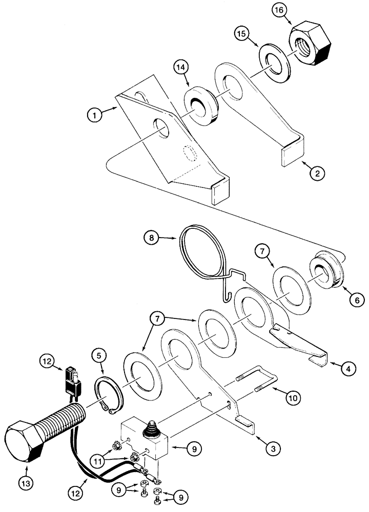
7
9
12
7
13
16
11
5
1
10
15
14
12
9
3
4
6
9
8
2
FIT
1:1
100%

Артикул

Название

Примечание

Количество

106402A1

SWITCH

Neutral Start, Consists Of 1 - 16

1шт.

1

106403A1

LARGE PLATE

PLATE, LARGE , Switch Mounting

1шт.

2

H438465

LARGE PLATE

PLATE, LARGE , Actuator

1шт.

H673263

MOUNTING PARTS

Includes 3 - 7

1шт.

3

131052A1

PLATE

1шт.

4

131051A1

CONTACT PLATE

PLATE, LARGE

1шт.

5

103-11125

SNAP RING,#125, Ext

1шт.

6

131050A1

HUB

1шт.

7

H257915

SHIM,0.813mm Thk

(1/32")

3шт.

8

H436231

SPRING

1шт.

9

H435820

SWITCH

Neutral Start

1шт.

10

H435814

U-BOLT

1шт.

11

193-1003

NUT,Keps, w/LW,#6-32

2шт.

12

H436183

CONNECTOR, ELEC

CONNECTOR , Switch To Harness

1шт.

13

413-1232

BOLT,Hex, 3/4" - 10 x 2", Gr 5

1шт.

14

H435881

HUB

1шт.

15

495-11081

WASHER,3/4", SAE

1шт.

16

232-41112

NUT,3/4"-10, GC

1шт.

Выбрано товаров: 18