Запчасти Case TF300B (06-09) - CONSOLE, CONTROLS, AND LINKAGE (06) - POWER TRAIN

Схема запчастей Case TF300B - (06-09) - CONSOLE, CONTROLS, AND LINKAGE (06) - POWER TRAIN
2
1
7
6
9
8
4
11
3
14
13
10
4
5
12
3
FIT
1:1
100%

Артикул

Название

Примечание

Количество

Models With Backfill Blade Only

1шт.

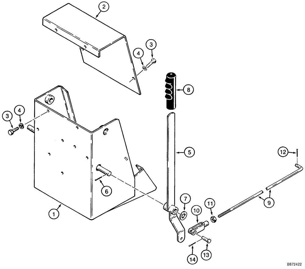
1

H608018

MOUNTING PARTS

1шт.

2

H557066

COVER

1шт.

3

413-58

BOLT,Hex, 5/16" - 18 x 1/2", Gr 5

5/16 x 1/2

4шт.

4

492-11031

LOCK WASHER,5/16"

4шт.

5

H587626

LEVER

1шт.

6

432-1020

COTTER PIN,5/32" x 1 1/4"

1шт.

7

495-11066

WASHER,5/8", SAE

21/32 x 1-5/16 x 3/32

1шт.

8

H31773

HANDLE

1шт.

9

H255471

STEM

1шт.

10

213-116

ADJUSTABLE CLEVIS,3/8" - 24

3/8

1шт.

11

425-156

JAM NUT,Jam, 3/8"-24, G5

1шт.

12

432-1012

COTTER PIN,5/32" x 3/4"

5/32" x 3/4"

1шт.

13

H25957

CLEVIS COUPLING

3/8 x 1-3/32

1шт.

14

432-1012

COTTER PIN,5/32" x 3/4"

5/32" x 3/4"

1шт.

Выбрано товаров: 15